Строим баню
вернуться

Доброва Елена Владимировна

Шрифт:

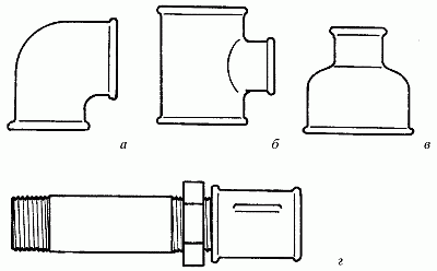
Кстати, прежде чем приступить к монтажу, следует еще запастись соединительной арматурой – фитингами (рис. 69). Они понадобятся для сборки отдельных участков трубопровода, для временной заглушки концов, для соединения труб разного диаметра и устройства ответвлений.

Рис. 69. Виды фитингов: а – угольник; б – переходный тройник; в – переходная муфта; г – сгон в сборе с прямой муфтой и контргайкой

Как уже говорилось, резьбовое соединение всегда следует предпочесть сварному. Соединение труб на резьбе позволяет производить в будущем замену и ремонт отдельных участков без демонтажа всей сети (что в ряде случаев бывает вообще невозможно), кроме того, соединение на резьбе доступно практически любому, тогда как сварочные работы требуют не только дорогостоящего оборудования, но и соответствующей квалификации. Таким образом, соединительные фасонные части (они же – фитинги) являются чрезвычайно важными элементами трубопровода.

Они могут быть изготовлены из стали или ковкого чугуна. Последние имеют утолщения-буртики по краям, а муфты из чугуна – еще и продольные ребра. Принципиального значения разница в материале не имеет, однако, закупая набор тройников, муфт и прочих фасонных частей, следует учитывать, что стальные фитинги могут быть изготовлены в любой полукустарной мастерской. Многие из соображений экономии отправляются на ближайший базар-барахолку, где можно также найти долговечные чугунные фитинги, бывшие в употреблении. Обратите внимание на качество: участки с сорванной резьбой допускаются только при условии, что в сумме их длина не превышает 10% общей длины резьбы. Торцы фитингов должны быть ровными и строго перпендикулярными к оси изделия, а резьба – чистой, без рванин и заусенцев.

Для соединения труб одинакового диаметра нужна прямая муфта, трубы разных сечений соединяются переходной муфтой. Угольники нужны для изменения направления трубопровода, а крестовины и тройники применяют для устройства ответвлений. Отрезок трубы с короткой резьбой на одном конце и длинной – на другом называется сгоном. Он применяется в сочетании с двумя муфтами и контргайкой для тех соединений, которые могут потребовать разборки. Не забудьте также запастись несколькими пробками-заглушками; они понадобятся, если сеть трубопроводов предусматривает подключение в будущем дополнительных приборов, продолжение отдельных участков и т. д.

Собирая трубопроводы, нарезать резьбу под фитинги придется не раз и не два. При этом неправильно нарезанная резьба может свести на нет труд нескольких часов – хорошо еще, если отрезок трубы не был отмерен строго по месту. Иначе из-за этих двух-трех сантиметров, которые «украла» запоротая резьба, придется повторять весь цикл операций сначала: отмерять и отрезать новый кусок трубы, гнуть его, зачищать напильником торцы и т. д.

Чтобы застраховаться от подобных неприятностей, нужен специальный вороток (плашкодержатель) с направляющим фланцем – цилиндрическим выступом, внутренний диаметр которого соответствует внешнему диаметру трубы. Он не даст перекосить плашку в самый ответственный момент, когда нарезается первая нитка резьбы.

Если предстоят работы с трубами разного диаметра, таких воротков нужно несколько. В усовершенствованной модели такого воротка фланец при нарезании резьбы не просто скользит по трубе, а наворачивается на специальную втулку, которая, в свою очередь, заранее закрепляется на трубе стопорными винтами.

Другое полезное устройство для нарезания резьбы – вороток-трещотка. От обычного плашкодержателя отличается тем, что вместо двух рукояток имеет одну, закрепленную на обойме с холостым обратным ходом. Этим воротком можно нарезать резьбу даже в самых труднодоступных местах.

Работая с трубами канализации, вам, вполне вероятно, придется укорачивать какую-то трубу по месту. Перерубить чугунную канализационную трубу можно зубилом. При этом для труб из серого чугуна, покрытых битумом, годится обыкновенное зубило, а трубы, имеющие на наружной поверхности слой особо твердого белого чугуна, начинают перерубать зубилом с твердосплавной вставкой.

Фитинги для канализационных труб купить несложно. В отличие от водопроводных соединений, необходимость в фитингах для канализации возникает только однажды – при ее прокладке. Поэтому запас соединительных элементов делать не стоит; лучше купить все необходимое перед самым проведением работ, в зависимости от материала, из которого будут изготовлены ваши трубы (чугун, пластик, керамика, асбестоцемент). Если в будущем возникнет необходимость в каком-то колене, отводе или тройнике, его всегда можно найти в магазинах.

До сих пор мы говорили в основном о монтаже труб. Но, кроме сборки и установки новых сетей трубопровода, может возникнуть необходимость и в демонтаже старого. Одних ключей, чтобы разобрать крепко прихваченной ржавчиной соединение, бывает недостаточно. А уж если узел был для надежности посажен на краску, все усилия будут тщетными.

Разобрать намертво схватившееся соединение поможет паяльная лампа – при нагреве краска и оставшийся уплотнитель выгорят, и муфта или угольник легко сдвинеутся с места. Возможная сфера применения паяльной лампы этим не ограничена, так что иметь ее в хозяйстве, безусловно, желательно.

Конструкций паяльных ламп настолько много, что описывать каждую из них в отдельности не имеет смысла, ведь принцип работы у всех ламп один – воздух, нагнетаемый насосом в резервуар с горючим, выталкивается вместе с его парами в тройник, где рабочая смесь регулируется запорным краном и под давлением подается в форсунку горелки.

Для предварительного разогрева горелки и воспламенения рабочей смеси под горелкой может быть специальная чашечка, в которой сжигают некоторое количество горючего. Резервуар имеет также клапан для выпуска избыточного воздуха.

  • Читать дальше
  • 1
  • ...
  • 71
  • 72
  • 73
  • 74
  • 75
  • 76
  • 77
  • 78
  • 79
  • 80
  • 81
  • ...

Private-Bookers - русскоязычная библиотека для чтения онлайн. Здесь удобно открывать книги с телефона и ПК, возвращаться к сохраненной странице и держать любимые произведения под рукой. Материалы добавляются пользователями; если считаете, что ваши права нарушены, воспользуйтесь формой обратной связи.

Полезные ссылки

  • Моя полка

Контакты

  • help@private-bookers.win