Строим баню
вернуться

Доброва Елена Владимировна

Шрифт:

При подключении электроприборов используются гибкий кабель ВРГ и АВРГ с резиновой изоляцией и следующие типы проводов: ПРН, АПРН, ПРВД с двойной изоляцией; одножильные АПВ и ПВ; двух– и трехжильные АППВ и ППВ. Желательно, чтобы все провода были заключены в изоляционные трубки.

Порядок крепления проводов и кабелей показан на рис. 66. В деревянной бане под провода подкладывается асбестовая полоска так, чтобы она вы-ступала на 10–15 мм с каждой стороны. Асбестовая прокладка используется и при скрытой проводке.

Рис. 66. Крепление проводов и кабелей: а – крепление проводов марок ППП, АППП, АППР с разделительным основанием к деревянному основанию в сухом помещении; б – крепление проводов марок ПВ, АПВ, ПРН, АПРН, ПРВД в изоляционной трубе во влажном помещении к деревянному основанию; в – крепление кабеля к негорючему основанию; 1 – провод; 2 – гвозди диаметром 1,4–1,8 мм, со шляпками до 3 мм; 3 – прокладка из листового асбеста толщиной не менее 3 мм; 4 – изоляционная трубка; 5 – металлическая лента; 6 – кабель; 7 – ролик; 8 – тесьма или шпагат

При пропускании проводов через стены используются электромонтажные трубки ХВТ, фарфоровые воронки (снаружи стены) и фарфоровые втулки ВТК (изнутри).

Штепсельные розетки и выключатели можно устанавливать только в предбаннике.

Светильник в моечной и парной должен быть выполнен из изолирующего материала и иметь патрон с высоким кольцом. При установке патрон надо заглубить. Двухпроводный ввод в баню делается с помощью стальной трубы (водо– или газопроводной), окрашенной снаружи и изнутри битумным лаком. Чтобы в трубу не попала влага, верхний конец у нее надо загнуть, а на нижнем просверлить отверстие для выхода конденсата.

В кирпичную стену труба заделывается с небольшим уклоном, чтобы в случае падения она оказалась на земле, а не на крыше. К стене труба прикрепляется стальными хомутами, а к крыше ее верхний конец – стальной проволокой диаметром 5 мм.

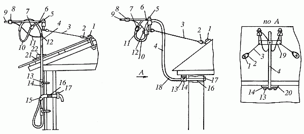
Порядок выполнения ввода подробно показан на рис. 67. Провода ввода следует прикреплять только к концам проводов ответвления во избежание повреждений при нарушении контакта или перегрузках.

Рис. 67. Устройство вводов: а – ввод в каркасно-щитовую баню; б – ввод в кирпичную и бетонную баню; в – крепление трубостойки оттяжками; 1 – болт М10 с гайками и шайбами; 2 – лапка; 3 – оттяжка; 4 – трубостойка; 5 – изолятор; 6 – вязальная проволока; 7 – зажим; 8 – ответвительный зажим; 9 – провод воздушной линии; 10 – провод ввода; 11 – заземляющий проводник; 12 – заземляющий болт М10; 13 – шурупы; 14 – скобы; 15 – фарфоровая воронка; 16 – изоляционная трубка; 17 – фарфоровая втулка; 18 – отверстие диаметром 5 мм для стока конденсата; 19 – траверса; 20 – деревянная подкладка; 21 – металлическая подкладка; 22 – опорное кольцо

Водопровод

Наверняка не каждый любитель попариться захочет носить воду для бани ведрами. Поэтому при строительстве придется также подумать и об устройстве водопровода.

Инструменты для монтажных работ

Прежде чем становиться настоящим мастером-сантехником, следует надлежащим образом экипироваться. Выбор необходимых инструментов для прокладки коммуникаций определяется самим «фронтом работ».

Вам придется столкнуться со стальными и чугунными трубами, с соединительными элементами и с герметизацией соединений. Замена крана потребует нарезания резьбы, а для ремонта запорной арматуры ее (арматуру) придется прежде всего разобрать. Поскольку самого необходимого – готовых прокладок для крана – частенько под рукой не оказывается, неплохо бы обзавестись несложным устройством для их изготовления, а также подходящим материалом.

Другими словами, потребность в инструменте для мелких монтажных работ практически полностью покрывается обычным слесарным комплектом инструмента плюс несколько специальных приспособлений. Остановимся на комплектации инструментального ящика подробнее: что требуется в первую очередь, что – во вторую, а без чего можно было бы и обойтись.

Пассатижи, молоток, хотя бы один напильник и пара отверток должны быть в хозяйстве у любого уважающего себя индивида мужского пола. Большинство остальных инструментов, о которых пойдет речь ниже, пригодятся также и для любых других работ по дому, но тут есть несколько существенных моментов.

Если предстоят серьезные мероприятия по прокладке коммуникаций, оправдывает себя приобретение дисковой пилы-болгарки. Во всех остальных случаях ее с успехом заменит ножовка по металлу.

Если требуется установить в водопроводную трубу дополнительный отвод, нужно, перекрыв контрольный вентиль, заменить прямой участок трубы тройником, в который и вворачивается отвод с краном. Резьбовые соединения даже предпочтительнее сварных, поскольку допускают необходимый демонтаж в будущем, а нарезать резьбу вполне по силам даже начинающему мастеру. Для этого достаточно будет обычных слесарных тисков и воротка (плашкодержателя) с набором плашек к нему.

Сами плашки могут быть разных размеров и типов в зависимости от диаметра и типа резьбы. На торце каждой плашки ставится клеймо, сообщающее всю необходимую информацию. Здесь следует обратить внимание на две вещи – обозначение резьбы и марку стали, из которой изготовлена сама плашка. Напомним, что в соединениях трубопроводов применяют резьбу дюймовую цилиндрическую.

Буква Л в клейме указывает, что это плашка с левой резьбой. Марка стали важна, если предстоит нарезать резьбу в высокопрочной нержавеющей стали: в этом случае выбирайте плашки с маркировкой Р18 (лучше – Р18Ф2, буква Ф указывает на содержание в инструментальной стали до 2% ванадия в качестве легирующей добавки), подойдет также более распространенная плашка из стали марки Р9.

  • Читать дальше
  • 1
  • ...
  • 68
  • 69
  • 70
  • 71
  • 72
  • 73
  • 74
  • 75
  • 76
  • 77
  • 78
  • ...

Private-Bookers - русскоязычная библиотека для чтения онлайн. Здесь удобно открывать книги с телефона и ПК, возвращаться к сохраненной странице и держать любимые произведения под рукой. Материалы добавляются пользователями; если считаете, что ваши права нарушены, воспользуйтесь формой обратной связи.

Полезные ссылки

  • Моя полка

Контакты

  • help@private-bookers.win