Для вас, мальчишки
вернуться

Лещинская В. В.

Шрифт:

Рис. 54. Компьпютер IBM PC (в настольном исполнении)

Самая важная часть системного блока, «сердце» компьютера – материнская плата. Это набор микросхем (чипов), без которых компьютер в принципе не был бы компьютером. На материнской плате устанавливаются следующие микросхемы:

– процессор – микросхема, выполняющая основные операции по управлению работой системы (например, Pentium I, Pentium II, Pentium III, Pentium IV для IBM);

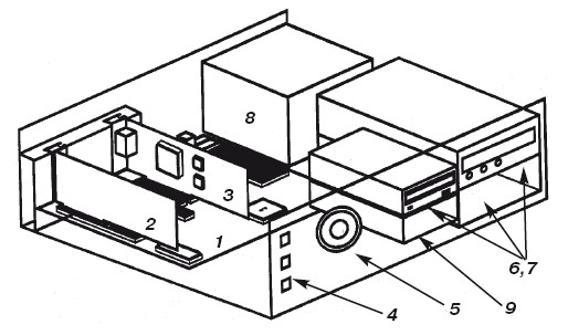
Рис. 55. Компоновка традиционного (класического исполнения) системного блока:

1 – системная плата (материнская плата), к которой подсоединены шины, процессор, контроллеры портов, оперативная память, контроллер клавиатуры, BIOS; 2 – видеоконтроллер; 3 – контроллер дисков и дискет;4 – органы лицевой панели; 5 – динамик; 6,7 – отсеки для дискет, дисков CD, DVD; 8 – блок питания; 9 – место для установки жесткого диска

– сопроцессоры – дополнительные микросхемы, способные производить сразу несколько достаточно сложных действий, благодаря чему отдельные математические операции производятся намного быстрее;

– оперативная память (ОЗУ) – микросхема, способная сохранять всю информацию, с которой имеет дело компьютер (минимальная величина ОЗУ для современного компьютера – 16 Мбайт; при необходимости объем памяти можно увеличить);

– кэш память – дополнительная микросхема, в которой сохраняется только та информация, в которой процессор нуждается чаще всего;

– BIOS – микросхема с информацией об аппаратных настройках.

При выключении компьютера вся информация, имеющаяся в оперативной памяти, стирается. Для длительного хранения наиболее употребляемых программ и часто используемых данных используются жесткий магнитный диск (винчестер) и съемные накопители информации.

Компьютер – это универсальный инструмент для хранения, поиска и обработки любой информации. Минимальная единица информации, с которой имеет дело компьютер, называется «бит». Бит – это двоичный элемент, который может принимать только два значения: 0 и 1. Для хранения более сложной информации используется элемент, который называется «байтом». Байт представляет собой поле из 8 последовательных битов. 1 байт может принимать 256 разных значений, поэтому его с избытком хватает, чтобы пронумеровать все символы русского и английского алфавитов, а также знаки пунктуации. Но так как в повседневной жизни мы имеет дело не с отдельными буквами, а с целыми фразами, рассказами и даже книгами, то удобнее оперировать килобайтами, мегабайтами и гигабайтами.

Жесткий диск, встроенный в дисковод системного блока, является составной частью компьютера, и его не стоит вынимать оттуда без веских причин. Объем информации, который можно сохранить на жестком диске, исчисляется гигабайтами. Это во много раз больше объема оперативной памяти компьютера. Выглядит жесткий диск как дискета очень большой толщины.

К съемным накопителям информации относятся:

1) дискеты – гибкие магнитные диски,

2) лазерные диски – CD-ROM,

3) лазерные диски повышенной плотности – DVD,

4) накопители нового поколения – ZIP и JAZ. При помощи съемных накопителей информацию можно переносить с одного компьютера на другой. Если тебе необходимо записать большой объем информации, чтобы передать ее приятелю, для этого лучше использовать JAZ-диск (емкостью 1 Гбайт) или DVD-диск (емкостью до 8,5 Гбайт). Информацию меньшего объема легко переносить на дискетах (до 3,5 Мбайт) и лазерных дисках (до 700 Мбайт).

Все магнитные носители информации (дискеты, диски ZIP и JAZ) нужно хранить вдали от источников магнитных волн и электромагнитного излучения. Это магниты, динамики, отопительные приборы и даже телефонные трубки, в которых есть магнитные катушки. Также опасно для них соседство с влагой. Лазерные диски магнитных излучений не боятся, но очень чувствительны к всевозможным царапинам и грязи. Загрязненный CD или DVD-диск даст некачественное изображение (звучание), поэтому лазерные диски берут за края кончиками пальцев и хранят в защитных конвертах или футлярах.

Если лазерный диск пропускает информацию, заикается или застрял на одном месте, очисти его рабочую поверхность (гладкую серебристую сторону без рисунка) при помощи безворсовой салфетки. Направление движений – от центра диска к краям, а не по кругу.

Дополнительные устройства, например, принтер или модем, можно подключить к системному блоку только через специальную пла ту расширения. У каждой материнской платы имеется так называемая "шина расширения", к которой и подключается плата расширения. Если ты вдруг решишь подсоединить к своему компьютеру то или иное устройство, сначала необходимо узнать, есть ли на шине расширения твоего компьютера свободный разъем (слот) для подключения. К шине расширения материнской платы подсоединяется и видеоадаптер, без которого невозможна передача информации на монитор компьютера.

Монитор (дисплей) – это устройство, на которое выводится результат работы компьютера, отображается нужная текстовая или графическая информация. Размер экрана дисплея измеряется в дюймах и по диагонали. Большинство персональных компьютеров комплектуется мониторами с диагональю 14, 15 и 17 дюймов. Экраны большего размера необходимы только тем, кто профессионально занимается графикой.

Изображение на мониторе должно быть четким, контрастным и не мерцающим. От того, насколько оно качественное, зависит и то, как долго ты сможешь просидеть за компьютером. Помни, что плохой монитор сильно портит зрение!

  • Читать дальше
  • 1
  • ...
  • 68
  • 69
  • 70
  • 71
  • 72
  • 73
  • 74
  • 75
  • 76
  • 77
  • 78
  • ...

Private-Bookers - русскоязычная библиотека для чтения онлайн. Здесь удобно открывать книги с телефона и ПК, возвращаться к сохраненной странице и держать любимые произведения под рукой. Материалы добавляются пользователями; если считаете, что ваши права нарушены, воспользуйтесь формой обратной связи.

Полезные ссылки

  • Моя полка

Контакты

  • help@private-bookers.win