Для вас, мальчишки
вернуться

Лещинская В. В.

Шрифт:

А

Б

Рис. 22. Последовательность загиба вышедшего наружу конца гвоздя: А – загиб конца гвоздя с подкладыванием прутка;Б – утапливание загнутого конца в доску; 1 – обрезок прутка

Иногда необходимо, чтобы головка гвоздя была невидна. Для этого гвозди вбивают косо в кромку доски или обычным способом, но в самую последнюю очередь откусывают шляпку вровень с лицевой поверхностью доски. Можно головку сплющить поперек оси гвоздя и таким образом забить поглубже в древесину. Наконец, некоторые умельцы делают полукруглой стамеской (еще один столярный инструмент) глубокий продольный подрез, отгибают стружку и вколачивают по самую шляпку гвоздь, после чего стружку приклеивают столярным или казеиновым клеем на место (рис. 23).

Соединяем детали шурупами

Соединение на шурупах – более прочное, чем на гвоздях. К тому же такое соединение легко разобрать обратно и, при желании, снова собрать.

Рис. 23. Обеспечение скрытности гвоздевого соединения подрубанием кромки:

1 – подрубаемая кромка

Шуруп внешне похож на гвоздь, только вот стержень толще и на нем есть винтовая нарезка. А на головке шурупа имеется прямая или крестовидная прорезь для отвертки (рис. 24). Как и гвозди, шурупы бывают разными по размерам и форме головки.

Рис. 24. Наиболее применяемые виды шурупов

Перед соединением деревянных деталей на шурупах в более тонкой детали необходимо просверлить сквозное отверстие диаметром чуть большим, чем у стержня шурупа. Во второй детали на соответствующем месте сделай глухое отверстие (гнездо) диаметром немного меньшим, чем диаметр стержня шурупа. Длина гнезда должна быть чуть больше нарезной части шурупа. Никогда не ввинчивай шуруп в целую деревянную деталь, в которой нет отверстия, так как ты можешь расколоть древесину! Сам шуруп должен быть длиннее тонкой детали, но при этом не должен выходить за нижнюю – более толстую деталь. Ввинчивают шуруп по часовой стрелке при помощи отвертки, конец которой необходимо вставить в прорезь на головке шурупа. Так как отвертки бывают разных размеров, их подбирают так, чтобы они совпадали с размером прорези шурупа.

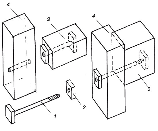
Соединение деталей при помощи длинных шурупов (болтов) считаются одним из самых прочных. Болты часто используют в тех случаях, когда, например, надо привинтить ножку к перекладине рабочего стола (рис. 25).

В работе с деревом тебе кроме шурупов могут понадобиться дополнительные металлические детали, такие как:

– всевозможные скобы, накладки и угольники; – петли (для создания подвижного соединения, например, для крепления дверки);

– наружные или внутренние замки. Прежде чем привинчивать эти детали шурупами, необходимо произвести точную разметку места их крепления.

Рис. 25. Пример соединения на длинных болтах:1 – корпус болта; 2 – гайка; 3 – перекладина стола; 4 – ножка стола

Делаем стеллаж

А теперь давай попробуем применить полученные знания на практике и сделаем книжный стеллаж. Почему именно стеллаж? Потому что стеллажи делать несложно, при этом они очень необходимы в домашнем хозяйстве. Получается, что от изготовления стеллажа ты будешь иметь двойную пользу.

Простейший стеллаж без гвоздей и шурупов.

Такой стеллаж состоит из опорных досок и полок, укрепленных на этих досках. Устойчивость стеллажа обеспечивается за счет массы самих полок и стоящих на них предметов. Лучше, если это будут книги, которые обладают достаточно большой массой. На рис. 26 подробно показан процесс изготовления такого стеллажа. Прежде всего, в соответствии с заданными размерами вырезаются отдельные части. В нашем случае мы имеем дело с двумя несущими сторонами, причем одна соответствует полной ширине стеллажа, а другая занимает только две трети. Если мы применяем для полок материал различной толщины, мы должны, конечно, взять для нижних полок более толстые плиты.

Для того, чтобы вставить отдельные части друг в друга, в толщине материала делаются врезки (как правило, только вполдерева – на половину ширины элемента конструкции). После запиливания кусочки древесины выдалбливаются с обеих сторон стамеской.

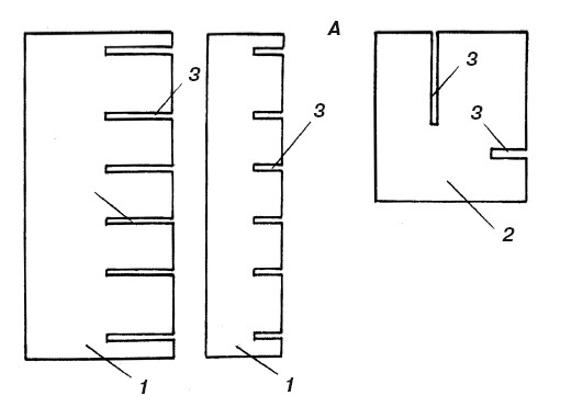
Стеллаж на шурупах. Можно собрать стеллаж в нише, которая имеется в квартире на шурупах (винтах). Каждую полку крепят на четырех длинных шурупах (винтах) с полукруглой головкой – по два винта с каждого бока полки. Шурупы ввинчивают на нужной высоте в боковые стойки (рис. 27). Получится удобный стеллаж, который не потребует особого умения и больших затрат.

Рис. 26. Стеллаж без гвоздей: А – изготовление опорных досок и полок; Б – сборка досок и полок; В – готовый стеллаж; 1 – опорные доски; 2 – полки; 3 – врезки вполдерева

Рис. 27. Стеллаж на шурупах:1 – доски-стойки; 2 – полки; 3 – отверстия, просверленные под шурупы (их диаметр на 2 мм меньше диаметра резьбы шурупов); 4 – длинные шурупы; 5 – входные отверстия для шурупов (их диаметр на 1–2 мм больше диаметра шурупов)

  • Читать дальше
  • 1
  • ...
  • 26
  • 27
  • 28
  • 29
  • 30
  • 31
  • 32
  • 33
  • 34
  • 35
  • 36
  • ...

Private-Bookers - русскоязычная библиотека для чтения онлайн. Здесь удобно открывать книги с телефона и ПК, возвращаться к сохраненной странице и держать любимые произведения под рукой. Материалы добавляются пользователями; если считаете, что ваши права нарушены, воспользуйтесь формой обратной связи.

Полезные ссылки

  • Моя полка

Контакты

  • help@private-bookers.win