Для вас, мальчишки
вернуться

Лещинская В. В.

Шрифт:

Казеиновый клей.

Казеиновый клей также подходит для склеивания изделий из дерева. Его продают в виде белого порошка, который растворяют в воде в стеклянной или керамической посуде. Через 30 минут клей тщательно размешивают и используют в работе.

Казеиновый клей наносят толстым слоем на склеиваемые поверхности, которые сразу же зажимают струбцинами и выдерживают в таком виде не менее 8 часов. Казеиновый клей быстро теряет свои свойства, поэтому его надо использовать сразу же после приготовления.

Сверлим отверстия

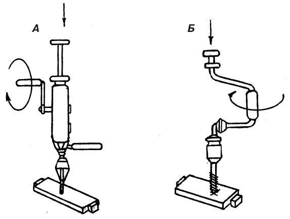
В работе по дому часто необходимо сверлить круглые отверстия – под такие крепежные детали, как болты, винты и шурупы, широко используемые при сборке мебели и во время ремонта. Для сверления круглых отверстий тебе понадобится ручная дрель или коловорот (рис. 17). Это несложные в обращении инструменты, с которыми ты легко справишься. Существует еще электрическая дрель, но вот работая с ней, необходимо придерживаться правил безопасности. Электродрелью, конечно же, легче сверлить отверстия, но и навредить при неправильном обращении она может очень серьезно. В ручной дрели и коловороте сверло, которым делают отверстия, вращается достаточно медленно, так как ты вращаешь рукоятку инструмента сам. В электродрели же скорость вращения сверла огромная, так как зависит от электрического питания.

Рис. 17. Ручная дрель (А) и коловорот (Б)

Собственно отверстия делает сверло, которое, вращаясь, все глубже и глубже погружается в тот материал, в котором тебе нужно сделать либо сквозное отверстие, либо небольшое углубление – гнездо. Сверло представляет собой металлический стержень разного диаметра и длины. От длины сверла зависит глубина сверления. На одном конце сверла находится острие, на другом – хвостовик, который закрепляется в патроне дрели или коловорота. Вся поверхность стержня сверла покрыта резцами, благодаря которым сверло «вгрызается» в материал.

Сверла бывают разной конструкции в зависимости от того, какое отверстие тебе нужно получить (рис. 18):

– бурав-сверло для сверления в торец и получения отверстий под шурупы;

– винтовое сверло; – пробочное сверло – для сверления отверстий под пробки;

– центровое сверло – для получения неглубоких гнезд под круглые шипы;

– перовое сверло; – спиральное сверло – универсальное сверло, которое чаще всего используют для сверления отверстий.

Прежде чем приступать к работе, проверь, надежно ли закреплено сверло в дрели. Особенно это важно при работе с электрической дверью, так как плохо закрепленное сверло может выскочить и поранить тебя.

Если сверло затупилось, то его необходимо заточить на бруске или при помощи напильника (в том случае, если нельзя затачивать на бруске). Затачивают сверло осторожно, чтобы не уменьшить диаметр стержня.

Рис. 18. Виды сверл: А – перовое; Б – простой бурав; В – винтовое центровое;

Г – ложечное; Д – центровое сверло; Е – пробочное бесцентровое;Ж – пробочное центровое; З – ложечное прямое; И – спиральное простое

Заготовку, в которой ты собираешься делать отверстие, необходимо тщательно закрепить, что во время сверления не возникло перекоса.

Отверстия в древесине.

Помести острие сверла точно в центр высверливаемого отверстия, который необходимо заранее наметить шилом или при помощи двух пересекающихся под прямым углом линий (рис. 19). Обрати внимание, что во время сверления вертикальная ось сверла должна совпадать с осью высверливаемого отверстия. Это значит, что держать инструмент нужно строго перпендикулярно поверхности, в которой ты делаешь отверстие.

Рис. 19. Разметка точки сверления:1 – углубление, сделанное при помощи шила; 2 – взаимно пересекающиеся под прямым углом линии

Начни работать дрелью медленно, без сильного нажима. Если ты сразу будешь делать резкие вращательные движения, то дерево может не выдержать и треснуть. Для получения сквозных отверстий сверли с лицевой стороны изделия, так как на выходе сверла часто образуются некрасивые заусенцы. Заканчивают сверление тоже медленными и нерезкими вращениями.

Отверстия в металле.

Для сверления отверстий в металле тебе понадобятся спиральные сверла из твердой стали. Чтобы сверло не отскочило от металла, сначала сделай на его поверхности небольшое углубление, в которое и вставь острие сверла. Углубление делают при помощи специального инструмента – керна, по которому наносят несильные удары молотком.

Отверстия в керамической плитке.

Керамическая плитка, которой часто украшают стены в ванной комнате или на кухне, – очень хрупкий материал. Во время сверления ее легко повредить. От неправильно подобранного сверла плитка может легко треснуть, что испортит внешний вид плиточного покрытия. Обычно отверстия в керамической плитке сделают при помощи электрической дрели со специальным сверлом из очень прочного материала – победита. Ты же можешь попробовать просверлить отверстие при помощи ручной дрели. Для этого возьми небольшой напильник и острым концом упри его в ту часть плитки, где ты собираешься сделать отверстие. Осторожно, чтобы не расколоть плитку, нанеси по рукоятке напильника несколько легких ударов молотком. Бей по направлению к плитке, чтобы острие напильника пробило верхний, часто покрытый глазурью, слой плитки. Затем вставь в выбитое отверстие конец сверла и не менее осторожно просверли ручной дрелью в плитке круглое отверстие.

  • Читать дальше
  • 1
  • ...
  • 24
  • 25
  • 26
  • 27
  • 28
  • 29
  • 30
  • 31
  • 32
  • 33
  • 34
  • ...

Private-Bookers - русскоязычная библиотека для чтения онлайн. Здесь удобно открывать книги с телефона и ПК, возвращаться к сохраненной странице и держать любимые произведения под рукой. Материалы добавляются пользователями; если считаете, что ваши права нарушены, воспользуйтесь формой обратной связи.

Полезные ссылки

  • Моя полка

Контакты

  • help@private-bookers.win