У-2/по-2
вернуться

Иванов С. В.

Шрифт:

УЗЕЛ КРЕПЛЕНИЯ МЕЖЭЛЕРОННЫХ ЛЕНТ (НА НИЖНИХ ЭЛЕРОНАХ)

УЗЕЛ КРЕПЛЕНИЯ РЫЧАГА УПРАВЛЕНИЯ ЭЛЕРОНАМИ

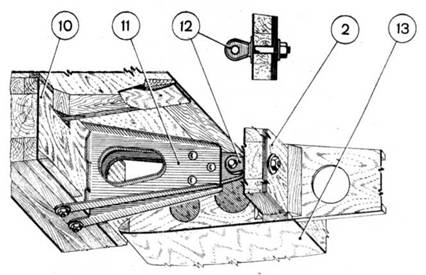
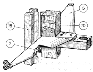
СТОЙКИ КОРОБКИ КРЫЛЬЕВ И КАБАН

1. Задний подкос 2. Диагональный подкос 3. Передний подкос 4. Задний подкос кабана 5. Диагональный подкос 6. Передний подкос кабана 7. Передний верхний узел фюзеляжа (правый) 8. Узел крепления кабана к фюзеляжу (задний правый) 9. Расчалка кабана 10. Раскос фюзеляжа 11. Передняя вертикальная расчалка фюзеляжа 12. Верхний подкос моторамы 13. Средний подкос моторамы 14. Вильчатый болт 15. Контргайка 16. Стаканчик 17. Заклепка 18. Трубчатая заклепка 19. Труба 20. Вкладыш 21. Вкладыш 22. Распорная трубка 23. Трубчатая заклепка

УЗЕЛ КРЕПЛЕНИЯ КАБАНА К ФЮЗЕЛЯЖУ (ЗАДНИЙ ПРАВЫЙ)

ПЕРЕДНИЙ ВЕРХНИЙ УЗЕЛ ФЮЗЕЛЯЖА

СТОЙКИ КАБАНА

СТОЙКИ КОРОБКИ КРЫЛЬЕВ

ЗАДНИЙ УЗЕЛ КРЕПЛЕНИЯ СТАБИЛИЗАТОРА

СТАБИЛИЗАТОР И РУЛЬ ПОВОРОТОВ

1. Узлы навески руля высоты 2. Рычаг управления рулем высоты 3. Триммер 4. Рычаг управления костылем 5. Рычаг управлением рулем и правления 6. Стабилизатор 7. Узлы навески руля направления 8. Руль направления 9. Стрингер 10. Лонжерон 11. Руль высоты 12. Нервюра 13. Расчалка 14. Задний лонжерон стабилизатора 15. Лонжерон киля 16. Узел стабилизатора 17. Лонжерон руля высоты

УЗЕЛ НАВЕСКИ РУЛЯ НАПРАВЛЕНИЯ (ВЕРХНИЙ)

УЗЕЛ КРЕПЛЕНИЯ РЫЧАГА УПРАВЛЕНИЯ РУЛЕМ НАПРАВЛЕНИЯ

УЗЕЛ НАВЕСКИ РУЛЯ ВЫСОТЫ

УЗЕЛ РЫЧАГА УПРАВЛЕНИЯ РУЛЕМ ВЫСОТЫ

ШАССИ САМОЛЕТА

1. Передний подкос 2. Подножка 3. Тандер троса 4. Узел крепления шасси и подкосов моторамы к фюзеляжу (передний нижний) 5. Латунная прокладка 6. Обтекатель амортизации 7. Воздушный ниппель 8. Колпачок 9. Ось шасси 10. Тросовая расчалка 11. Трос заземления 12. Амортизационная стойка 13. Верхняя обойма (траверса) 14. Направляющая труба 15. Узел крепления стойки шасси на фюзеляже 16. Кардан 17. Стакан 18. Нижний лонжерон фюзеляжа 19. Кардан 20. Муфта шасси

< image l:href="#"/>

УЗЕЛ КРЕПЛЕНИЯ ШАССИ И ПОДКОСОВ МОТОРАМЫ К ФЮЗЕЛЯЖУ

ПОДНОС С КАРДАНОМ

ПРАВЫЙ УЗЕЛ КРЕПЛЕНИЯ МУФТЫ ШАССИ

УЗЕЛ ПОДВЕСКИ АМОРТИЗАТОРА К ОСЕВОЙ ТРУБЕ КОСТЫЛЯ

УЗЕЛ КРЕПЛЕНИЯ КАТУШКИ АМОРТИЗАТОРА К КОСТЫЛЮ

КРОНШТЕЙН КРЕПЛЕНИЯ КОСТЫЛЯ К ОСЕВОЙ ТРУБЕ

УЗЕЛ КРЕПЛЕНИЯ ОСЕВОЙ ТРУБЫ КОСТЫЛЯ (НИЖНИЙ)

КОНСТРУКЦИЯ КОСТЫЛЯ

1. Серьга 2. Катушка крепления амортизации 3. Амортизация костыля 4. Рычаг осевой трубы 5. Масленка верхняя 6. Осевая труба 7. Трос управления костылем 8. Пружина управления костылем 9. Рычаг управления костылем 10. Предохранительная накладка 11. Костыль 12. Пята костыля 13. Оковка костыля 14. Ограничитель наклона костыля (буфер) 15. Предохранительный трос 16. Серьга предохранительного троса 17. Распорка фюзеляжа 18. Подшипник 19. Кронштейн крепления костыля к осевой трубе 20. Масленка нижняя

ЛЫЖИ.ОСНОВНАЯ И ХВОСТОВАЯ

1. Узлы крепления шнуровых амортизаторов 2. Предохранитель от запрокидывания лыжи в полете 3. Амортизатор 4. Передний узел крепления шнурового амортизатора к фюзеляжу 5. Задний узел крепления шнурового амортизатора 6. Кабан главной лыжи 7. Сосновый брусок трапецтвиднсй фермы 8. Средние усиливающие сосновые бруски 9. Ясеневый полоз 10. Фанерное основание полоза 11. Оковка из листового аллюминия 12. Стрингеры 13. Фанерные шпангоуты 14. Серьга крепления амортизатора 15. Амортизатор 16. Узел крепления амортизатора к лыже 17. Предохранительный трос 18. Упор, ограничивающий поворот лыжи 19. Кабанчик хвостовой лыжи

  • Читать дальше
  • 1
  • ...
  • 5
  • 6
  • 7
  • 8
  • 9
  • 10
  • 11
  • 12
  • 13
  • 14
  • 15
  • ...

Private-Bookers - русскоязычная библиотека для чтения онлайн. Здесь удобно открывать книги с телефона и ПК, возвращаться к сохраненной странице и держать любимые произведения под рукой. Материалы добавляются пользователями; если считаете, что ваши права нарушены, воспользуйтесь формой обратной связи.

Полезные ссылки

  • Моя полка

Контакты

  • help@private-bookers.win