Электрика в доме
вернуться

Коршевер Наталья Гавриловна

Шрифт:

Рис. 3. Индикаторы напряжения: а – контрольная лампочка: 1 – резьбовый патрон с лампой накаливания; 2 – провод; 3 – щуп; б – индикаторная отвертка: 1 – жало; 2 – корпус отвертки с вмонтированной лампочкой; 3 – контактная головка отвертки.

Простейший индикатор напряжения в цепи можно изготовить самостоятельно из резьбового патрона с лампой накаливания малой мощности, двух отрезков изолированного провода и двух металлических щупов. Однако с помощью этого приспособления можно лишь определить наличие или отсутствие напряжения в сети, но невозможно установить, какой из проводов фазный, а какой нейтральный.

Это легко выяснить с помощью промышленных индикаторов, самый распространенный из которых – индикаторная отвертка. Для определения наличия напряжения в электрической сети, на токонесущих частях приборов и устройств, для нахождения фазного провода на контактах жало отвертки приставляют к тестируемому участку; в действие индикатор приводится прикосновением руки к его контактной головке (сила тока, протекающего при этом через тело человека, при напряжении сети 220 В составляет доли миллиампера и не представляет для него никакой опасности). Индикаторная лампочка загорается в том случае, если отвертка касается фазного провода или контакта, находящегося под напряжением; при прикосновении к нулевому проводу или контакту лампочка не загорается.

Но когда необходимо не только определить наличие или отсутствие тока в сети, не только обозначить «фазу» или «ноль», но и измерить определенные параметры тока, то это можно сделать с помощью специальных приборов: амперметра, вольтметра или омметра.

Справедливости ради следует сказать, что даже не у всех профессиональных электриков имеются в наличии все эти приборы. Куда рациональнее и проще обзавестись комбинированным ампервольтомметром, в народе называемым тестером; с его помощью можно измерить силу и напряжение постоянного тока, среднее значение силы тока и напряжения переменного тока, сопротивление постоянному току. Диапазон измеряемых параметров: ток – в пределах от 0 до 2,5 А; напряжение – до 1000 В; сопротивление постоянному току до 10000 кОм. Прибор оснащен достаточно мощной защитой: он способен выдержать кратковременные перегрузки до 25-кратных значений от конечного значения диапазона измерения.

Большой проблемой является определение места обрыва в скрытой проводке. Для не посвященного в тонкости электротехники человека единственными инструментами, с помощью которых это можно сделать, представляются молоток и зубило.

А ведь обнаружить место обрыва можно и не производя таких колоссальных затрат времени, труда и средств (на последующее оштукатуривание стен), с помощью достаточно простого устройства, принципиальная схема которого представлена на рис. 4.

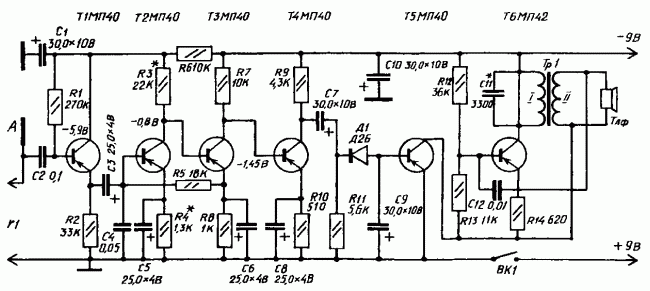
Рис. 4. Принципиальная схема устройства для определения места неисправности скрытой проводки.

Действие прибора основано на регистрации электрического поля, которое образуется вокруг проводника (провода), находящегося под напряжением. Мощность прибора позволяет зарегистрировать ток частотой 50 Гц на расстоянии 6–8 см от проводника. Такое устройство можно приобрести в готовом виде или попытаться собрать по нижеследующему описанию.

Для сборки прибора и обнаружения неисправности в скрытой электропроводке необходимы следующие комплектующие: четырехкаскадный усилитель звуковой частоты с коэффициентом усиления 3000–5000 единиц, выпрямитель, ключевой каскад, генератор звуковой частоты на 900–1600 Гц, две батареи 3336Л, трансформатор, антенна и головные телефоны (наушники).

Для питания устройства осуществляют последовательное соединение батарей 3336Л (их суммарный ток – 5–8 мА). Проводник с током в антенне А наводит в приборе напряжение частотой 50 Гц, которое увеличивается усилителем звуковой частоты (собранным на транзисторах Т1– Т4). Далее напряжение выпрямляется диодом Д1 (его значение на выходе – 0,2–0,4 В) и поступает на базу транзистора Т5 ключевого каскада. Под действием напряжения блокинг-генератор, собранный на транзисторе Т6, начинает генерировать колебания звуковой частоты, которые отчетливо слышны в головных телефонах, соединенных с генератором.

Все детали прибора, кроме выключателя ВК1, батарей питания, гнезд Г1 и телефонов, размещают на гетинаксовой плате размером 12 x 7,2 см. Саму плату вместе с батареями, гнездами и тумблером выключателя помещают внутрь металлического корпуса размером 15 x 7,8 x 4,5 мм. Антенна А размером 13 x 6,5 см, изготовленная из листовой медной фольги, укрепляется в окне крышки корпуса на изолирующей гетинаксовой плате.

Для нормальной работы прибора статический коэффициент усиления по току (Вст) всех транзисторов прибора должен быть в интервале 35–50.

Трансформатор Тр1, монтируемый в прибор, изготавливают на магнитопроводе Ш5 x 6. Первичная обмотка трансформатора (I) должна состоять из 1500 витков провода ПЭВ диаметром 0,1 мм, вторичная обмотка (II) – из 600 витков такого же провода. После установки трансформатора следует проверить работоспособность блокинг-генератора, для чего коллектор и эмиттер транзистора Т5 временно замыкают накоротко проволочной перемычкой: при правильном подключении выводов обмотки (I) трансформатора Тр1 генератор начинает работать, в противном случае выводы нужно поменять местами.

  • Читать дальше
  • 1
  • 2
  • 3
  • 4
  • 5
  • 6
  • 7
  • ...

Private-Bookers - русскоязычная библиотека для чтения онлайн. Здесь удобно открывать книги с телефона и ПК, возвращаться к сохраненной странице и держать любимые произведения под рукой. Материалы добавляются пользователями; если считаете, что ваши права нарушены, воспользуйтесь формой обратной связи.

Полезные ссылки

  • Моя полка

Контакты

  • help@private-bookers.win