Строим баню
вернуться

Доброва Елена Владимировна

Шрифт:

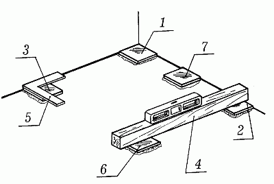
Для вертикальной провески (рис. 48) на верхнем уровне облицовки на расстоянии 30–40 см от угла примыкающей стены вбейте гвоздь (1), шляпка которого должна выступать над поверхностью на толщину облицовки (7–15 мм – толщина плитки плюс толщина подстилающего слоя). К шляпке привяжите отвес и по нему определите толщину облицовки внизу, где на расстоянии 20–25 см от пола вбейте гвоздь (2), шляпка которого должна касаться отвеса. Затем между этими гвоздями натяните шнур. Аналогичную операцию проведите на другой стороне стены. Точку для верхнего гвоздя (3) определите с помощью гибкого уровня, использующего закон сообщающихся сосудов (7). Нулевое деление (уровень воды) одной из визирных трубок уровня совместите с гвоздем (1), тогда нулевая отметка (уровень воды) другой визирной трубки покажет место для гвоздя (3) – эту операцию удобнее производить вдвоем. С помощью отвеса, привязанного на гвоздь (3), найдите точку для установки гвоздя (4) (аналогично гвоздю (2)). Между гвоздями (3) и (4) также натяните причальный шнур.

Рис. 48. Провешивание стен и установка маяков: 1–4 – гвозди; 5 – отвес; 6 – гибкий уровень; 7 – маячные плитки; 8 – шнур-причалка; 9 – угольник

Обратите внимание на такой существенный момент: если гвоздь плохо вбивается в поверхность стены, то для облегчения крепления гвоздей примените марки из гипсового раствора. Гипсовую марку установите следующим образом: небольшое количество гипсового раствора (лепешку) прижмите мастерком к стене в нужном месте и, пока гипсовый раствор не начал схватываться, в марку установите гвоздь.

Вертикальность будущих рядов определена – причальные шнуры, натянутые между гвоздями (1–2) и (3–4), позволят вам контролировать прямолинейность вертикальных стыков при укладке плиток.

Для провески по горизонтали по углам на уровне нижнего ряда также с помощью гибкого уровня установите маячные плитки. По верхнему краю маячных плиток натяните шнур-причалку – он позволит в ходе облицовки контролировать прямолинейность горизонтальных стыков. Маячные плитки после завершения облицовки вырубите и замените плитками на растворе.

Перпендикулярность между вертикальной провеской и шнуром-причалкой проверьте при помощи угольника.

Стена для облицовки плиткой готова.

Разметка горизонтальной поверхности

Для начала проверьте горизонтальность поверхности, используя строительный уровень и двухметровую рейку. Отклонение поверхности от горизонтали не должно превышать 50 мм. Если отклонение больше предела, на полу уложите подушку из цементно-песчаного раствора, которая устранит наклон пола. После затвердения растворной подушки, приблизительно через сутки, можно приступать к дальнейшей разметке горизонтальной поверхности.

Теперь следует закрепить отметки уровня укладываемого пола по периметру стен: строительный уровень установите на рейку, добиваясь при этом положения воздушного пузырька на нулевом уровне, и на каждой стене проведите черту. Для постоянного контроля за горизонтальностью укладываемого пола в углах помещения на гипсовом растворе установите маячные плитки, выверив перпендикулярность двух смежных рядов по угольнику; если облицовываемая поверхность имеет большую площадь, то для удобства между угловыми маяками установите промежуточные маяки (рис. 49). По краям маячных плиток натяните шнур-причалку. Маячные плитки по окончании настилки всего пола мы удалите и замените плитками на растворе.

Рис. 49. Разметка горизонтальной поверхности и установка маяков: 1–3 – угловые маячные плитки; 4 – деревянная рейка; 5 – угольник; 6–7 – промежуточные маячные плитки

После разметки и установки маячных плиток поверхность пола обильно смочите водой и оставьте на 5–6 часов (к началу облицовочных работ пол должен остаться влажным, но без видимых скоплений воды). Эту операцию производите только в том случае, если укладка плиток осуществляется на цементно-песчаном растворе. При укладке плиток на мастике или клее поверхность должна быть абсолютно сухой.

Теперь к облицовке готов и пол.

Подготовка облицовочных плиток

Подготовку плиток одного размера начните с сортировки по тону и качеству: отличающиеся по тону следует укладывать в нижние ряды, а дефектные (со сколами, выбоинами, трещинами, дефектами глазурованного слоя) оставить на заготовку неполномерных плиток для укладки в углах. Затем с помощью линейки произведите разметку поверхности под облицовку (не забывая про толщину стыков), просчитайте количество целых плиток и количество и параметры неполномерных плиток для каждого ряда.

Раскрой неполномерных плиток производите плиткорезом или стекло-резом по глазурованной стороне, раскалывая их затем по линии надреза о деревянный брусок (рис. 50).

Рис. 50. Подготовка облицовочных плиток: 1 – раскрой облицовочных плиток; 2 – откалывание по надрезу

В том случае, если при облицовочных работах на вашем пути встретятся трубы, овальные вырезы под них у края плитки нужно выкусить кусачками или щипцами. Если же положение трубы таково, что она должна «пронзить» плитку, разрежьте плитку на две части по предполагаемому диаметру трубы и выкусите овальные отверстия у каждой половинки.

  • Читать дальше
  • 1
  • ...
  • 57
  • 58
  • 59
  • 60
  • 61
  • 62
  • 63
  • 64
  • 65
  • 66
  • 67
  • ...

Private-Bookers - русскоязычная библиотека для чтения онлайн. Здесь удобно открывать книги с телефона и ПК, возвращаться к сохраненной странице и держать любимые произведения под рукой. Материалы добавляются пользователями; если считаете, что ваши права нарушены, воспользуйтесь формой обратной связи.

Полезные ссылки

  • Моя полка

Контакты

  • help@private-bookers.win