Сытые годы
вернуться

Тарханов Влад

Шрифт:

Сейчас мы собрались в помещении лаборатории Теслы, впрочем, эта небольшая конторка занимается таким количеством направлений, а у самого Николы столько идей, что, скорее всего, создам на его базе первый Научно-исследовательский институт проблем электротехники. Научный руководитель уже есть. В гении серба даже не приходится сомневаться. Я всего месяц назад подключил его к теме беспроводной связи, а у него уже есть несколько интересных идей, причем, воплощенных в прототипы. Надо сказать, что сам Никола человек увлекающийся и имеет возможность генерировать идеи в массовых количествах, а вот с доведением этих самых идей до конца у него всегда возникали проблемы. Поэтому у меня он работает с группой исследователей, главная задача которых — довести до ума мысли и чаяния своего руководителя. Хочу только заметить, что во время кризиса власти и действий по сигналу «Конкорд» Никола проявил себя более чем достойно, без истерик и прочей интеллигентной мути. Просто следовал инструкциям. Это ему в большой плюс!

Не слишком ли он молод? Для руководящей должности? Нет, молодость — это вообще ресурс, который слишком быстро расходуется, а в его случае, при наличии группы помощников и надо бы подобрать ему толкового заместителя по хозяйственной части, который сможет найти всё, что только угодно. И при таких условиях, уверен, Тесла сможет работать максимально эффективно. Главное — освободить его от кучи административной работы. Научный руководитель — это научный. Вот пусть наукой и руководит. Плюс в институт надо будет обязательно выделить токового патентного поверенного, чтобы он смог приоритеты и привилегии отстаивать по всему миру. Маркони? Хрен вам, а не повторение подвига Маркони, присвоившего себе чужие достижения, не защищенные патентом (никак не могу привыкнуть, что у нас, в России, патенты именуют привилегиями, а надо бы от иностранных слов-паразитов избавляться). И вообще, речь свою контролировать еще лучше. А то иногда вылезет что-то такое, что ставит всё моё окружение в недоумение. Извините, непереводимый морской слэнг!

Почему я сейчас вопросы связи ставлю в приоритет? Так это вполне естественно! Без надежной связи как без рук! Страна наша огромна, а без средств коммуникации, когда можно важные вопросы решать оперативно, быстро ее развитие будет невозможно! Я это прекрасно понимаю. Но тут не только вопрос коммуникации, но и вопросы пропаганды. Живое слово, которое донесут до человека по радио — это живое слово, до века телевидения радио держало уверенно пальму первенства в плане пропаганды. Именно потому что воздействовало непосредственно на человека, независимо от его уровня грамотности. Нет-нет, каждому в дом тарелку радио — это пока еще несбыточная мечта. Но установить радиоточки на площадях, на заводах и фабриках с тем, чтобы люди могли слушать важнейшие правительственные сообщения, новости, музыку, интервью с политиками, это очень надо, очень! При этом такую радиосеть я хотел получить бы не только в городах, но и больших селах и деревнях. Оптимально — в каждом, даже самом мелком населенном пункте. Но пока что будем строить планы из реальных возможностей. У нас еще не в каждом доме загорелась лампочка Ильича. Да и назовут ли ее в ЭТОМ мире лампочкой Ильича? Может быть, лампочкой Михайловича?

Кстати, если говорить о лампочках, то я пригласил Яблочкова, он уже создал свою первую электрическую лампочку освещения с угольным стержнем. Вот только этот продукт недолговечен. Читал, что, когда у Эдиссона получилось создать электролампу, которая светила пятьдесят часов подряд, так его сотрудники не хотели домой уходить, любовались этим чудом. А ларчик просто открывался, имея достаточное финансирование, американский ученый тривиально направил своих сотрудников на поиски материалов, которые бы были прочными и при этом светились. Ему привезли волокна какого-то бамбука, который и пошел на первые нити накалывания по классической схеме. Надо сказать, что Эдиссон был более удачным менеджером, чем ученым. Во-первых, он умел подобрать кадры (правда, в ЭТОЙ ветке истории Тесла ему не достался), во-вторых чувствовал, куда надо направить средства и тратил их достаточно щедро для получения быстрого и надежного результата. В-третьих, он бессовестно пользовался достижениями своих сотрудников, но выдавал не просто какое-то изобретение, но цельное решение, которое дело это отдельное изобретение сразу же коммерческим продуктом. Пример тому же те же лампочки накалывания: его контора создала не просто готовый продукт, вместе с технологической схемой его получения, приспособленной под массовый выпуск, но и весь комплекс решения: генератор переменного тока, систему передачи этого тока, систему подключения и выключения источника света, предохранители, счетчики потребляемой энергии (патрон и цоколь для лампочек практически в неизменном виде используют до сих пор). Ну а то, что он считал изобретения своих сотрудников, сделанные в его лабораториях своими — так надо внимательно договоры читать, когда нанимаешься на работу!

Я пригласил в лабораторию и Павла Николаевича Яблочкова, переживавшего в этот момент не самые лучшие времена. Он начинал с работы в телеграфном ведомстве, связанным с железной дорогой. Сумел там создать первый прожектор, который ночью освещал путь императорскому составу. Впоследствии создает с инженером Николаем Гавриловичем Глуховым свою лабораторию, где разрабатывает электромагнит оригинальной конструкции, открывает принцип электродуговой лампы, которую потом назовут лампочкой Яблочкова. Затем, когда он уезжает за границу, с целью демонстрации своего изобретения, начинается самый плодотворный период его жизни. Он совершенствует и внедряет свою систему освещения, его признают во всём мире, у него получаются прорывные изобретения: генератор и трансформатор переменного тока. Ознакомившись с изобретением Яблочкова Эдиссон запатентовал свою лампу (использовал обугленные нити бамбука, помещенные в вакуум), но борьбу против американского ученого-бизнесмена Павел Николаевич проиграл.

Последние годы Яблочков жил в Париже, где убедился, что его изобретение (электродуговая система освещения) окончательно проигрывает системе ламп с нитью накалывания Эдиссона, которые всё больше завоевывают мир. И находился в творческом кризисе. Он носился с идеей выкупа своих патентов и внедрения их в России. При этом готов был заплатить за них совершенно безумные деньги. От этого русского изобретателя отговорил мой агент в Париже. Ему предложили вернуться на родину, и я уже готовился создавать лабораторию под него в институте, которым будет руководить Тесла. Тут должно было состояться моё знакомство с изобретателем. Насколько я помнил, после выкупа патентов в МОЕЙ ветке истории Яблочков остался без средств к существованию и без поддержки, как со стороны государства, так и отечественных промышленников. Все эти перипетии его жизни и творческого пути привели к слишком ранней кончине — пытаясь добиться развития своих идей в России он окончательно подорвал здоровье и умер в довольно раннем возрасте.

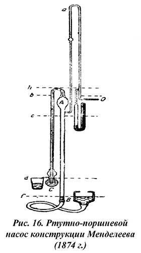
И вот я подхожу к стенду, около которого Яблочков и завис. А что тут такого? Всё такое привычное (для меня). Обычная лампочка с вольфрамовой нитью, которая горит в атмосфере смеси азота и аргона. Вот только путь к ее изобретению оказался не так прост, как кажется с самого первого взгляда. Вольфрам был известен и у нас, на территории современного Казахстана есть месторождение вольфрамовых руд с достаточно высоким содержанием металла для того, чтобы его добыча стала рентабельной. Второй серьезной проблемой было создание вакуума в стеклянной колбе, для этого был использован оригинальный прибор, разработанный в 1874 году Дмитрием Ивановичем Менделеевым — так называемый ртутно-поршневой вакуумный насос. Правда, этот прибор не годится для промышленного производства, слишком медленно он достигает той степени разреженности, которая гарантирует достаточно длинную работу лампы накаливания.

Впрочем, сотрудники химического комитета Менделеева уже работали над более совершенным прибором — ртутным вращательным насосом (в РИ аналог — насос Геде), который уже можно использовать в промышленности. Самой сложной проблемой стало заполнение стеклянной колбы инертным газом. По подсказке попаданцев, Химический комитет провел ряд опытов и открыл наличие аргона в воздухе, оценив его концентрацию в почти процент от общей воздушной массы. Трудность открытия аргона была в том, что этот газ не вступал в химические реакции, а вот пробы полученного азота из воздуха отличались по плотности. Путем сложной цепи химического улавливания аргона было доказано, что в воздухе присутствует инертный газ, с большей атомарной массой, нежели азот. Таким образом была заполнена еще одна клеточка периодической таблицы Менделеева. Но получение чистого аргона так и осталось крайне сложным химическим процессом, но нам и не требовался чистый аргон, нам требовалась азотно-аргоновая смесь, а она получалась при выделении азота из воздуха. Опытным путем была определена концентрация аргона в смеси, а дальше надо было только добиться определенного удельного веса полученной азотно-аргоновой смеси из воздуха. Правда, одно дело лабораторная программа, а совсем другое — промышленное производство.

  • Читать дальше
  • 1
  • 2
  • 3
  • 4
  • 5
  • 6
  • 7
  • 8
  • ...

Private-Bookers - русскоязычная библиотека для чтения онлайн. Здесь удобно открывать книги с телефона и ПК, возвращаться к сохраненной странице и держать любимые произведения под рукой. Материалы добавляются пользователями; если считаете, что ваши права нарушены, воспользуйтесь формой обратной связи.

Полезные ссылки

  • Моя полка

Контакты

  • help@private-bookers.win