Полы, арки и перегородки в современном доме
вернуться

Котельников Владимир Семенович

Шрифт:

Установка перемычки

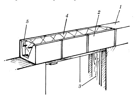
При возведении перегородок из газосиликатных блоков необходимо использовать специальные перемычки. Они могут быть сборно-монолитными, брусковыми или арочными. Если нет возможности создать перемычку во время строительства, то проще использовать сборно-монолитный вид перемычек, которые представляют собой полые блоки, по форме напоминающие перевернутую букву «П» (U-блоки). Внутри их следует заполнить раствором, а затем установить в них арматуру.

Для создания перекрытий дверных проемов из U-блоков формируют перемычки необходимой длины с учетом ширины проема. Для этого над дверным проемом следует установить опалубку из деревянного бруса или металлических профилей, а затем на клей уложить U-блоки. В лоток U-блока фиксируют арматуру, которую затем заливают бетоном (рис. 69). После этого поверхность бетона необходимо выровнять по верхней грани блока.

Рис. 69. Установка перемычки из U-блоков: 1 – блоки для перегородок; 2 – U-блоки; 3 – опалубка; 4 – бетон; 5 – арматурный каркас

Перемычку рекомендуется укладывать на специальный клей для газосиликатных блоков. Глубина опорной части с каждой стороны должна быть не менее 200–250 мм.

При возведении перемычек над дверными проемами предварительно должна быть выполнена опалубка, на которую впоследствии будут укладываться U-блоки.

Оштукатуривание

После установки перегородки из газосиликатных блоков ее необходимо оштукатурить под последующую отделку. Существуют определенные отличия оштукатуривания такой перегородки от оштукатуривания простых поверхностей из кирпича или бетонных блоков. Главное из них состоит в самом штукатурном растворе. Не рекомендуется наносить на газосиликатные блоки штукатурку на основе цемента. Существует большое количество уже готовых сухих штукатурных растворов для отделки поверхностей из газоблоков. Они изготавливаются на основе гипса, так как он обладает наиболее высокой па-ропроницаемостью.

Приготовить раствор из них довольно просто, необходимо только следовать инструкции, которая указана на упаковке. Стоит лишь обратить внимание на то, что обычно все подобные сухие растворы сначала засыпаются в емкость. Только после этого добавляют воду, а не наоборот. Стандартная концентрация раствора составляет пропорцию: 1/5 л на 1 кг сухой смеси. Необходимо следить за тем, чтобы не было избытка воды, что может снизить качество штукатурки.

Перед тем как приступить непосредственно к оштукатуриванию, необходимо очистить поверхность возведенной перегородки от пыли и подтеков, затем – прогрунтовать. Для этого рекомендуется использовать укрепляющие смеси, обладающие хорошим проникновением. После чего следует приступать к установке армирующей сетки из стекловолокна.

Сам процесс оштукатуривания должен осуществляться по маякам, в роли которых используют специальные направляющие. Их выставляют на поверхности перегородки, а пространство между ними заполняют штукатурным раствором.

Штукатурку можно наносить на стену как в один, так и в несколько слоев. Все зависит от того, насколько ровные получились перегородки. Толщина одного слоя не должна превышать 15 мм. При нанесении штукатурного раствора в несколько слоев толщина каждого не должна превышать 8–9 мм. Выравнивание слоев необходимо осуществлять по установленным планкам, убирая излишки раствора с помощью специальной рейки (рис. 70). Затем следует дождаться высыхания материала и произвести затирку.

Рис. 70. Выравнивание слоев по установленным планкам с удалением излишков раствора с помощью специальной рейки

Совет мастера

После нанесения каждого слоя штукатурки необходимо дать время на просушку, и только после этого можно приступать к нанесению следующего слоя. Весь процесс оштукатуривания рекомендуется проводить при температуре в комнате не ниже 5-1 °C.

Отделка

Перегородки из газосиликатных блоков по своим эксплуатационным характеристикам практически ничем не отличаются от других таких конструкций. Единственное отличие – они обладают повышенным коэффициентом гигроскопичности, поэтому их не рекомендуется использовать в ванной или туалете. Но и это не так принципиально, так как в наши дни производители отделочных материалов (например, штукатурных смесей) предлагают современные способы их защиты от повышенной влажности.

Во всем остальном это обычные перегородки, или стены, поэтому никаких ограничений в их отделке не имеется. Если планируется последующая оклейка обоями или покраска, то просто нужно с помощью штукатурных или шпаклевочных смесей довести поверхности до ровного состояния. Если планируется отделка перегородки пластиковыми или декоративными панелями, то оштукатуривание и шпаклевание проводить совсем необязательно. Необходимо только закрепить к перегородке каркас из деревянных реек, а затем приступать к отделке данными материалами. Это, пожалуй, один из самых дешевых вариантов на сегодняшний день.

  • Читать дальше
  • 1
  • ...
  • 45
  • 46
  • 47
  • 48
  • 49
  • 50
  • 51
  • 52
  • 53
  • 54
  • 55
  • ...

Private-Bookers - русскоязычная библиотека для чтения онлайн. Здесь удобно открывать книги с телефона и ПК, возвращаться к сохраненной странице и держать любимые произведения под рукой. Материалы добавляются пользователями; если считаете, что ваши права нарушены, воспользуйтесь формой обратной связи.

Полезные ссылки

  • Моя полка

Контакты

  • help@private-bookers.win