Полы, арки и перегородки в современном доме
вернуться

Котельников Владимир Семенович

Шрифт:

Водяные полы отличаются долговечностью. Обычно система напольного отопления из полимерных труб имеет срок службы не менее 40–50 лет. Но не следует забывать о соблюдении всех правил монтажа и эксплуатации.

Еще один положительный момент при использовании водяного теплого пола – это возможность саморегулирования температуры.

В помещении становится возможным поддерживать желаемый температурный режим без постоянных регулировок. Логично, что чем ниже температура воздуха в помещении, тем больше тепла отдаст система нагрева.

Однако теплый пол не сможет прогреть воздух сильнее, чем нагрет он сам. Например, если температура системы составляет 26 °C, то в комнате воздух не может прогреться больше чем до 26 °C.

Водяной теплый пол довольно прост в монтаже. Установка элементов отопительной системы, раскладка труб и подготовка стяжки не требуют специальной подготовки.

Так как водяной теплый пол чаще всего применяется в качестве основной системы отопления, то он может использоваться с любым видом чистового покрытия, кроме теплоизоляционных материалов.

Монтаж водяного теплого пола

В настоящее время применяется бетонная система монтажа водяного теплого пола (рис. 14), когда трубы контуров закрываются с помощью бетонной стяжки.

Рис. 14. Водяной теплый пол в разрезе: 1 – бетонная стяжка; 2 – демпферная лента; 3 – труба; 4 – полистирольная плита; 5 – полиэтиленовая пленка

Перед тем как переходить непосредственно к монтажу системы, необходимо разграничить помещение. Если его площадь большая, то следует произвести деление на участки до 40 м2. Деление также во многом будет зависеть от геометрии помещения. При этом соотношение сторон каждого участка должно быть не менее 1: 2. Это связано с тем, что под воздействием температурных изменений стяжка может расширяться. Затем предварительно очищенную черновую поверхность пола нужно покрыть изоляционным материалом для того, чтобы избежать потери тепла. Наиболее распространенным материалом является пеноплекс и полистирол. Толщина изоляционного слоя должна составлять 50-150 мм.

После этого по периметру и между секторами следует проложить демпферную ленту, которая необходима для компенсации теплового расширения стяжки. Сверху необходимо поместить полиэтиленовую пленку. Последняя обладает гидроизоляционным эффектом, а также уменьшает проникновение вредных веществ от пенополистирольной плиты.

На этом этапе нужно переходить к укладке арматурной сетки и монтажу труб. Ячейки в сетке должны быть размером 150 х 150 мм и сечением 5 мм.

В зависимости от заданного плана трубу можно укладывать с шагом 300–750 мм. С помощью пластиковых хомутов трубу следует прикрепить к арматуре, а там, где находятся компенсационные швы, ее нужно поместить в гофрированную трубу. Существует несколько вариантов укладки контуров труб: по спирали, по спирали со смещенным центром и змейкой, а также двойной змейкой (рис. 15). Так как пол у наружных стен быстрее расходует тепло, то и шаг укладки возле них рекомендуется делать в 1,5 раза меньше, если общий шаг укладки не равен 10 мм (рис. 16, 17, 18). Расход трубы из расчета на 1 м2 при шаге в 200 мм составляет 5 м.

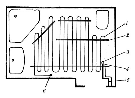
Рис. 15. Пример монтажа системы водяного теплого пола

Рис. 16. Уменьшение шага укладки возле наружных стен

Рис. 17. Уменьшение шага укладки возле наружных стен (вариант 2)

Рис. 18. Уменьшение шага укладки возле наружных стен (вариант 3)

После завершения монтажных работ следует провести опрессовку теплых водяных полов. Она необходима для выявления возможных механических дефектов или повреждений, возникших во время установки системы.

Совет мастера

Водяной теплый пол легко установить в собственным доме или в новостройке, где это предусмотрено проектом. В других случаях может потребоваться согласование с ЖКХ и БТИ.

После проведения опрессовки можно приступать к заливке бетонной стяжки, при этом давление в системе в течение суток должно составлять 3–4 бар. Толщина стяжки должна быть не менее 50 мм.

После того как бетонная стяжка высохнет, необходимо переходить к монтажу чистового покрытия пола.

При монтаже полистирольной системы водяного теплого пола в пазы следует установить специальные алюминиевые пластины, с помощью которых фиксируются трубы контуров. Покрытие состоит из полистирольных плит 30 х 300 х 1000 мм с пазами. При таком способе монтажа укладка чистового покрытия не требует бетонной стяжки.

  • Читать дальше
  • 1
  • ...
  • 8
  • 9
  • 10
  • 11
  • 12
  • 13
  • 14
  • 15
  • 16
  • 17
  • 18
  • ...

Private-Bookers - русскоязычная библиотека для чтения онлайн. Здесь удобно открывать книги с телефона и ПК, возвращаться к сохраненной странице и держать любимые произведения под рукой. Материалы добавляются пользователями; если считаете, что ваши права нарушены, воспользуйтесь формой обратной связи.

Полезные ссылки

  • Моя полка

Контакты

  • help@private-bookers.win