Вертолёт, 2005 № 01
вернуться

Журнал Вертолет

Шрифт:

Однако применение таких систем на серийных отечественных вертолетах встречает препятствия как экономического, так и технического характера: дорого, серийные отечественные вертолеты «интегрированных бортов» не имеют, установка такой системы на уже эксплуатирующиеся вертолеты требует согласований и сертификации.

Поэтому решение по обеспечению безопасности полета следует искать в области автономных средств, напрямую не связанных с бортовыми системами. Современный уровень развития электроники и компьютерной техники позволяет решить эту задачу.

Владимир ПУХВАТОВ, летчик-испытатель 1 класса, канд. техн. наук

Акустический интерферометр

Шум — один из наиболее распространенных факторов, негативно влияющих не только на здоровье и работоспособность человека, но и на экологическую обстановку в целом. Проблема шумового загрязнения окружающего пространства актуальна при эксплуатации различных летательных аппаратов с мощными силовыми и энергетическими установками, генерирующими шумы в широком диапазоне частот с высокой интенсивностью. В предлагаемой вниманию читателей статье рассматривается один из методов определения характеристик звукопоглощающих материалов, применение которых позволит эффективно снизить уровень шума в салоне вертолета.

Качественное решение проблемы во многом зависит от получения необходимой информации о параметрах акустических полей источников шума и разработки мероприятий по снижению их акустических пульсаций. Борьба с вредным воздействием шумов проводится, как правило, по трем направлениям:

— уменьшение параметров шума в источнике;

— снижение интенсивности шума средствами звукоизоляции и звукопоглощения;

— уменьшение вредного воздействия шума с помощью средств защиты.

Уменьшение параметров шума в его источнике не всегда целесообразно и возможно, так как в большинстве случаев приводит к необходимости конструктивных изменений не только «шумного» агрегата или узла, но и всего ряда техники, где он устанавливается. Поэтому более приемлемым методом борьбы с шумом является использование средств звукоизоляции и звукопоглощения. Их действие основано на создании препятствия по пути распространения звуковых волн, отделяющего шумную среду от менее шумной. В частности, действие звукопоглощающих облицовок основано на переходе звуковой энергии в тепловую за счет трения в порах звукопоглощающего материала. Основными показателями звукопоглощающих облицовок являются нормальный коэффициент звукопоглощения а и нормальный импеданс Z.

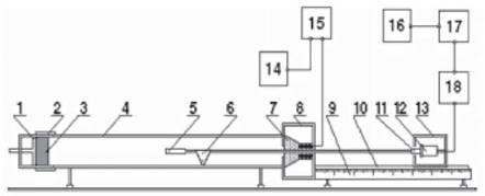
Определять звукопоглощающие свойства материалов можно с помощью реверберационной и заглушенной камер, однако это достаточно дорого и трудоемко. Предпочтительнее использовать для этого акустический интерферометр (рис. 1), разработанный в НИАЛ им. Фигурова при Казанском высшем артиллерийском командном училище в соответствии с ГОСТ 16297-80 «Материалы звукоизоляционные и звукопоглощающие. Методы испытаний». Прибор предназначен для определения нормального коэффициента звукопоглощения и импеданса (комплексного сопротивления) образцов звукопоглощающих материалов и изделий площадью до 0,0082 м^2 — . На образцы материалов воздействует плоская стоячая звуковая волна, измерение уровней звукового давления которой в отраженном виде позволяет определить звукопоглощающие свойства. Исследования проводятся в воздушной среде на среднегеометрических частотах треть-октавных полос в диапазоне от 100 до 2000 Гц.

Труба интерферометра имеет следующие параметры: диаметр D=0,1 м, длина при установке круглой обоймы 1=1,0 м, при установке квадратной обоймы 1=1,02 м. Диаметр определяет верхний предел частотного диапазона допустимых измерений, длина — нижний.

На интерферометре определяются величины напряжений на выходе микрофонного усилителя, регистрируемые электронным вольтметром и соответствующие первым максимуму и минимуму уровня звукового давления в трубе интерферометра, а также расстояние с первого минимума d 5см, от лицевой поверхности образца.

Рис. 1. Блок-схема интерферометра

1 — прижимной поршень; 2 — обойма; 3 — испытуемый образец; 4 — труба; 5 — микрофонный щуп; 6 — направляющая микрофонного щупа; 7 — громкоговоритель; 8 — защитный короб громкоговорителя; 9 — направляющая рейка; 10 — указатель отсчета; 11 — резиновая диафрагма; 12 — измерительный микрофон; 13 — микрофонная тележка; 14 — электронно-счетный частотомер; 15 — низкочастотный генератор; 16 — электронный вольтметр; 17 — акустический фильтр; 18 — микрофонный усилитель

Рис. 2. Коэффициенты звукопоглощения материала Optima

Рис. 3. Коэффициенты звукопоглощения композиции пористо-волокнистых материалов толщиной 0,02 м и 0,025 м

Рис. 4. Коэффициенты звукопоглощения композиции из пористо-волокнистых материалов с воздушным зазором

  • Читать дальше
  • 1
  • ...
  • 23
  • 24
  • 25
  • 26
  • 27
  • 28
  • 29
  • 30
  • 31
  • 32
  • 33

Private-Bookers - русскоязычная библиотека для чтения онлайн. Здесь удобно открывать книги с телефона и ПК, возвращаться к сохраненной странице и держать любимые произведения под рукой. Материалы добавляются пользователями; если считаете, что ваши права нарушены, воспользуйтесь формой обратной связи.

Полезные ссылки

  • Моя полка

Контакты

  • help@private-bookers.win