Конец холивара. Pascal vs C
вернуться

Кривцов М. А.

Шрифт:

WRITE (‘НОД=’, X);

WHILE – пока

DO – делать

Цикл с предусловием

2.2.2. Цикл типа “до” (цикл с постусловием)

Этот цикл выполняется не менее одного раза

Пример 1.5: Решение предыдущей задачи.

Цикл с постусловием

Повторять

если X> Y

то X:=X-Y

иначе Y:=Y-X

до X=Y;

Писать (‘НОД=’, X);

REPEAT

IF X> Y

THEN X:=X-Y

ELSE Y:=Y-X

UNTIL X=Y;

WRITE (‘НОД=’, X);

REPEAT – повторять

UNTIL – до

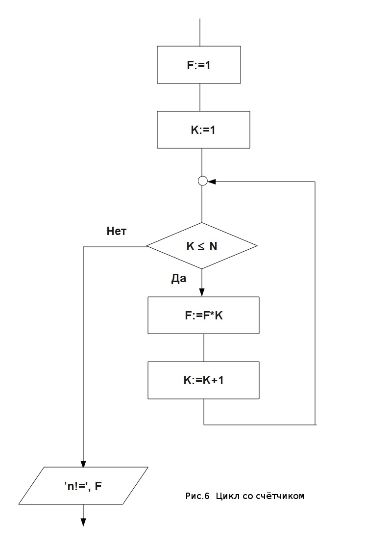
2.2.3. Цикл с параметром (со счётчиком)

Пример 1.6: Вычислить факториал числа (n!=1x2x3x…xn).

F:=1;

Для K:=1 до N делать

F:=F*K;

Писать (‘n!=’, F);

F :=1;

FOR K:=1 TO N DO

F:=F*K;

WRITELN (‘n!=’, F);

FOR – для

TO – до

DO – делать

Цикл с параметром

Если в этом операторе вместо TO использовать DOWNTO, то при каждой итерации значение параметра K будет уменьшаться на единицу.

3. Процедуры и функции (подпрограммы)

Подпрограммы позволяют разбить одну сложную программу на несколько более простых и решать эти отдельные задачи самостоятельно, возможно даже, что делать это будут разные программисты и в разное время. Готовую подпрограмму, в дальнейшем, можно использовать в других программах.

Функции и процедуры описываются после описания переменных.

Главное отличие процедуры от функции заключается в том, что процедура может возвращать в программу более одного значения или не возвращать совсем, а функция – всегда должна возвращать одно значение.

Вызов функции отличается от вызова процедуры, тем, что, при вызове имя функции указывается в качестве одного из операндов выражения, например, в правой части оператора присваивания.

Среди входящих в тело функции операторов должен быть хотя бы один оператор присваивания, в левой части которого стоит имя функции.

Процедуры или функции могут не иметь параметров или иметь параметры-переменные или параметры-значения. При помощи параметров производится передача данных в процедуру или функцию. Параметры, в которые записываются результаты работы процедуры и которые будут использоваться в программе должны описываться как параметры-переменные (перед ними должно стоять слово VAR), а параметры, которые будут передавать в процедуру или функцию исходные данные должны описываться как параметры-значения. Параметры при объявлении процедуры (формальные параметры) и при вызове процедуры (фактические параметры) должны соответствовать друг другу по типу данных.

Структура процедуры или функции имеет только два различия от структуры обычной программы: процедуры и функции начинаются с заголовка PROCEDURE или FUNCTION, а не с заголовка PROGRAM, и заканчиваются не точкой, а точкой с запятой.

Процедуры и функции могут иметь свои собственные константы, типы данных, переменные и даже собственные процедуры и функции. Но все эти элементы, которые называются локальными, могут использоваться только в тех процедурах и функциях, в которых они определены. Константы, типы и переменные объявленные в программе имеющей процедуру или функцию называются глобальными. Они могут быть доступны, то есть предоставлять или изменять свои значения внутри тел процедур или функций, объявленных в этой программе. Локальные элементы позволяют работать над подпрограммами разным программистам, не боясь, что, например, они могут дать имена переменным аналогичные именам переменных в других подпрограммах или в основной программе – это не повлияет на работу других подпрограмм, или основной программы.

На этом, в том числе, базируется структурное программирование. По данной методологии любая программа строится без использования оператора безусловного перехода (goto) из трёх базовых управляющих структур: последовательность, ветвление и цикл. Кроме того, используются подпрограммы. Притом, разработка программы ведётся пошагово, методом “сверху вниз”. Методология структурного программирования появилась, как следствие возрастания сложности решаемых на компьютерах задач и усложнения программ.

  • Читать дальше
  • 1
  • 2
  • 3
  • 4
  • 5
  • 6
  • 7
  • 8
  • 9
  • ...

Private-Bookers - русскоязычная библиотека для чтения онлайн. Здесь удобно открывать книги с телефона и ПК, возвращаться к сохраненной странице и держать любимые произведения под рукой. Материалы добавляются пользователями; если считаете, что ваши права нарушены, воспользуйтесь формой обратной связи.

Полезные ссылки

  • Моя полка

Контакты

  • help@private-bookers.win