Столярные и плотничные работы
вернуться

Коршевер Наталья Гавриловна

Шрифт:

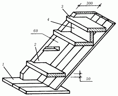
Косоуры, или тетивы, изготавливают из цельных досок толщиной не менее 3,5 см. Толщина досок должна составлять 5–6 см, особенно для длинных лестничных пролетов с большим количеством ступенек. Их потребуется по две на каждый пролет, и выбирают их в соответствии с длиной марша.

Для ступеней берут доски, равные ширине марша, толщиной от 2,5 до 5 см. Каждая отдельно взятая ступенька должна спокойно выдерживать вес одного человека. Чем шире лестничный марш, тем длиннее должны быть доски для ступеней и, соответственно, больше толщина доски. Для ступени необязательно искать доску на всю ширину, ступени могут быть и составные.

Для изготовления маршевых площадок нужны такие же доски, как и для ступеней. А для подступеней берут более тонкие, примерно 2–2,5 см. При выборе материала обязательно учитывают, что по правилам ширина марша должна быть не менее 105 см, а площадок – не менее 120 см.

Соединение ступеней с косоурами может быть различным. Самой распространенной и надежной конструкцией является лестница с врезными ступенями. Для ее изготовления в тетиве делают вырезы – пазы глубиной 1,5 см, в которые устанавливают проступи и подступени. После их установки косоуры стягивают металлическими болтами (рис. 91).

Рис. 91. Конструкция внутренней лестницы с врезными ступенями: 1 – доска пола; 2 – тетива; 3 – проступь; 4 – подступень.

Есть и другие способы – выбор крепления остается всецело за плотником (рис. 92).

Рис. 92. Варианты крепления проступей и подступеней к косоурам.

Высота расположения ступенек зависит от уклона самой лестницы, то есть от угла расположения тетивы относительно пола первого этажа: чем больше угол наклона, тем выше относительно друг друга располагают ступеньки.

К примеру, если угол наклона косоура составляет 33–37°, то высота ступеньки будет 16 см, если наклон увеличивается до 38–42°, соответственно увеличивается и высота ступени – 18 см. Если наклон лестницы составляет около 45°, то расстояние между ступеньками будет равно 20 см.

Однако не следует забывать и о конкретных параметрах роста человека. Не исключено, что ступени придется сделать не по стандарту, а выше или ниже. Главное, чтобы этой лестницей было удобно пользоваться обитателям дома, поэтому сначала надо убедиться, что намеченная высота ступеней подходит, а потом производить их окончательное крепление.

Строительство лестницы начинают с установки косоуров. Их закрепляют к поверхности пола первого этажа и наверху к балкам перекрытия шурупами. Места крепления можно усилить с помощью металлических уголков, привинченных к полу. Располагают тетивы на расстоянии примерно 70–90 см, чтобы ширина лестницы была удобна для передвижения.

После установки косоуров каждый из них разбивают на ступени с учетом высоты шага и толщины досок проступей. Однако разметку можно сделать еще до установки тетив на место. Традиционно в каждом марше делают нечетное количество ступеней.

После этого на косоурах делают пазы, если ступени будут врезными, или устанавливают другие элементы для крепления ступеней. Лучше всего начинать ставить ступени снизу вверх, – это поможет отрегулировать высоту шага и заодно проверить прочность крепления.

Если доски, предназначенные для проступей, слегка выгнутые, то укладывать их нужно выпуклой частью наружу, тогда они будут лежать ровнее.

Подступени устанавливают вместе с проступями или после закрепления всех ступеней. Для их крепления используют такие приемы, как сплачивание в четверть или на вставной шип. Допускается закрепление подступеней с помощью шурупов или гвоздей.

Заключительным этапом устройства лестницы является установка перил. Они закрепляются непосредственно на тетиве и предназначены для безопасности движения по лестнице, а также служат декоративным элементом, придающим конструкции законченный вид.

Лестничное ограждение относится к вспомогательным элементам, так как оно не выполняет несущих функций. Проще всего закрепить перила на вертикальных стойках. Верхний конец перил обычно укрепляют в стене, если это позволяет конструкция лестницы. Опорой нижнего конца служит стойка.

Чаще всего перила устанавливают с левой стороны лестницы, но это зависит в основном от конструктивных особенностей лестницы. Встречаются варианты, когда из соображений безопасности устраивают перила вдоль обеих сторон лестницы.

Простейшие поручни изготавливают из брусков с сечением 4 х 5 см или из досок. Если для поручня (наклонная часть перил) используют брусок, то стесывают два его ребра, чтобы ширина стеса примерно составила 0,4–0,5 см. Поручень тщательно обрабатывают шкуркой до получения гладкой поверхности.

  • Читать дальше
  • 1
  • ...
  • 41
  • 42
  • 43
  • 44
  • 45
  • 46
  • 47
  • 48
  • 49
  • 50
  • 51
  • ...

Private-Bookers - русскоязычная библиотека для чтения онлайн. Здесь удобно открывать книги с телефона и ПК, возвращаться к сохраненной странице и держать любимые произведения под рукой. Материалы добавляются пользователями; если считаете, что ваши права нарушены, воспользуйтесь формой обратной связи.

Полезные ссылки

  • Моя полка

Контакты

  • help@private-bookers.win