Столярные и плотничные работы
вернуться

Коршевер Наталья Гавриловна

Шрифт:

Только после этого можно приступать к пилению на полный размах руки с легким нажимом при движении ножовки от себя. При этом пилу постепенно устанавливают почти перпендикулярно к поверхности плиты (рис. 45, б).

Усиливать нажим на пилу не следует. От этого только затруднится работа и увеличится вероятность образования перекоса. Пилят неторопливо, стараясь придерживаться единого ритма. В процессе работы рекомендуется периодически переворачивать плиту и проверять расположение пропила относительно риски.

Чтобы не было перекосов, плиту распиливают небольшими участками поочередно то с лицевой, то с оборотной стороны, но в этом случае рекомендуется прорезать глубокие риски с двух сторон.

Если длина распила большая, до его середины пилят в одном направлении, а затем плиту разворачивают на 180° и продвигаются навстречу сделанному разрезу. Особую осторожность нужно соблюдать в том месте, где пропилы соединяются, потому что плита может обломиться. Плиты, длина которых не превышает 300 мм, нет необходимости пилить в двух направлениях; но для того, чтобы предотвратить облом, пиление заканчивают замедленными движениями, удерживая при этом левой рукой отпиливаемую часть.

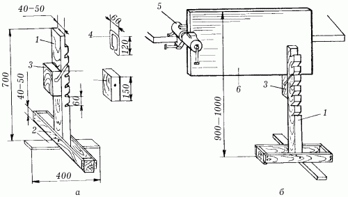
При распиливании плиты происходит местное выкрашивание облицовочного слоя, но это не страшно, так как дальше разметочной риски оно не распространяется, а оставшаяся полоска с нарушенной облицовкой будет удалена в процессе строгания, которое выравнивает и делает гладкими все кромки. Перед проведением этой операции плиту закрепляют в вертикальном положении. С помощью одних только тисков это сделать не удастся, поэтому для довольно больших по размеру плит требуется дополнительная подставка с переменной высотой опоры (рис. 46, а), которая представляет собой стойку с косыми зазубринами, установленную на крестовине. По этой стойке перемещается ползун, фиксируемый на уровне любой зазубрины с помощью проволочной скобы.

Рис. 46. Подставка для опоры плиты при строгании (а) и закрепление обрабатываемой плиты (б): 1 – стойка; 2 – крестовина; 3 – ползун; 4 – скоба; 5 – тиски; 6 – плита.

Чтобы изготовить такую подставку, потребуются: брусок для стойки и ползуна, дощечки для крестовины, кусок проволоки диаметром 3–4 мм для скобы, гвозди для сколачивания крестовины и крепления к ней стойки. Опорные заплечики и зазубрины на стойке выпиливают ножовкой. Проволочную скобу сгибают в тисках и с двух сторон вставляют в отверстия, пробитые в ползуне гвоздем. Закрепление обрабатываемой плиты показано на рис. 46, б: одну ее сторону зажимают в тисках, а другую опирают на ползун, установленный на требуемой высоте, которую определяют удобным для строгания возвышением обрабатываемой кромки над уровнем пола. Обычно она составляет 900–1000 мм.

Кромки строгают без специальной разметки, так как эта операция производилась в самом начале обработки, а после правильно проведенного распиливания разметочные риски должны оставаться хорошо заметными и нетронутыми. Сначала строгают одну из продольных кромок, затем обе поперечные и вторую продольную. Строгание можно проводить как с двух концов, так и с одного. В первом случае, чтобы не сколоть дальний угол плиты, в направлении которого движется рубанок, кромку обрабатывают до середины с одного конца, а затем, развернув плиту на 180°, – с противоположного. При строгании в одном направлении на дальнем конце, на уровне разметочной риски, предварительно делают глубокую зарубку (просечку), используя для этой цели нож или стамеску.

Кромки сначала выравнивают шерхебелем, а потом рубанком. В том случае, если толщина снимаемой шерхебелем стружки не превышает 1–1,5 мм, начинают работать рубанком. Кромки древесно-стружечной плиты строгают так же, как и кромки любых других плит. Отличие состоит лишь в том, что вместо обыкновенных ленточных отделяются стружки в виде крошек. На кромку столярной плиты выходят торцы брусков, поэтому при ее строгании выпуск лезвия ножа уменьшают.

Начинающие столяры, работая рубанком, очень часто допускают такую ошибку: в начале движения, когда инструмент входит в обрабатываемую поверхность, его приподнимают кверху, а в конце, наоборот, наклоняют книзу. Вследствие этого начальный и конечный участки кромки оказываются перестроганными, а средняя часть остается недостроганной. Для избежания подобных погрешностей в начале строгания следует сильнее нажимать на инструмент левой рукой, а в конце – правой. В средней части кромки нажим обеих рук должен быть одинаковым.

К перекосу обрабатываемой поверхности приводит наклон рубанка вбок. А вследствие изменения наклона с одного бока на другой образуется похожая на пропеллер поверхность, которую очень трудно выправить. Обнаружить перекос можно с помощью угольника. Этот инструмент периодически прикладывают длинной стороной к пласти плиты, а короткой – к кромке. Если возник перекос, сострагивают возвышающиеся участки.

Благодаря наличию двусторонних разметочных рисок значительно упрощается контроль при строгании. По рискам видно, в каких местах плита прострогана больше, а в каких меньше. Главное – не перестрогать риски, иначе можно испортить кромку и повредить облицовочный слой.

Качество проведенной работы проверяют, поставив плиту остроганной кромкой на гладкий стол. Если она не упадет, значит, строгание выполнено правильно.

Строгание древесины

Этот прием обработки древесины заключается в выравнивании поверхности после пиления. В зависимости от этапов выполнения строгания используют разные типы рубанков.

Приготовленную к отделке деталь укладывают на верстак и закрепляют ее. Начинают с грубого выравнивания, для чего используют шерхебель. При этом все движения направляют поперек волокон, но не вдоль них, так как можно снять слишком много древесины. Если на пути следования шерхебеля встречаются свилеватости, которые затрудняют обработку, то не надо делать упор на них. В противном случае в этом месте древесина может отколоться, и брусок станет непригодным к дальнейшей работе.

  • Читать дальше
  • 1
  • ...
  • 20
  • 21
  • 22
  • 23
  • 24
  • 25
  • 26
  • 27
  • 28
  • 29
  • 30
  • ...

Private-Bookers - русскоязычная библиотека для чтения онлайн. Здесь удобно открывать книги с телефона и ПК, возвращаться к сохраненной странице и держать любимые произведения под рукой. Материалы добавляются пользователями; если считаете, что ваши права нарушены, воспользуйтесь формой обратной связи.

Полезные ссылки

  • Моя полка

Контакты

  • help@private-bookers.win