Отделка стен
вернуться

Сбитнева Евгения Михайловна

Шрифт:

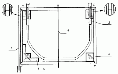
То же самое делается и на другой стороне стены. При помощи гибкого уровня, используя принцип сообщающихся сосудов, нужно определить точку для верхнего гвоздя (обозначим его буквой В) так, как это показано на рис. 30.

Рис. 30. Провешивание стен и установка маяков: А, Б, В, Г – гвозди; 1 – отвес; 2 – гибкий уровень; 3 – маячные плитки; 4 – шнур-причалка; 5 – угольник.

Уровень воды (нулевое деление) одной из трубок уровня необходимо совместить с гвоздем, обозначенным буквой А. После этого уровень воды другой визирной трубки определит место для третьего гвоздя, обозначенного буквой В. Кстати, если работать в паре с помощником, будет намного легче справиться с установкой маяков.

Продолжая работу, как и в предыдущем случае, с помощью отвеса, привязанного к шляпке гвоздя В, определяют место для вбивания гвоздя Г, а затем натягивают причальный шнур между гвоздями В и Г.

В том случае, если гвозди вбиваются в поверхность стены с большим трудом, используют марки из гипсового раствора, устанавливаемые следующим образом: небольшое количество гипсового раствора прижимают мастерком к стене в том месте, где необходимо вбить гвоздь, затем, пока раствор не схватился, устанавливают в марку гвоздь.

Упомянутые выше причальные шнуры, натянутые между гвоздями А-Б и В-Г, определяют вертикальность будущих рядов облицовочной плитки: они помогают контролировать выравнивание вертикальных стыков в процессе укладки плитки.

С помощью того же гибкого уровня устанавливают маячные плитки по горизонтали, по углам на уровне нижнего ряда. Причальный шнур, по которому придется определять в ходе работы прямолинейность горизонтальных стыков, натягивают по верхнему краю маячных плиток. Сами же маячные плитки в конце работы вырезаются и заменяются плитками, уложенными на раствор.

Теперь остается только проверить с помощью угольника перпендикулярность линий между вертикальной провеской и причальным шнуром, а затем можно приступать к облицовке стен плиткой.

Облицовка стен «прямой ряд»

Итак, разметка и провешивание стен завершены. Теперь можно приниматься за укладку плитки.

Известная поговорка «Первый блин комом» ни в коем случае не должна относиться к облицовочным работам: от того, насколько ровно будет уложен первый ряд плитки, зависит качество укладки всех последующих рядов. Поэтому точность и аккуратность мастеру-плиточнику просто необходимы. Если вы хотите, чтобы на стене располагалось как можно меньше неполномерных плиток, работу следует начинать с одного из углов. В том случае, если укладка плиток начнется с середины стены, ряды плиток будут расположены симметрично.

Для лучшего сцепления раствора с поверхностью стены последнюю перед укладкой следует увлажнить малярной кистью, смоченной в воде. Тыльную поверхность плиток можно также увлажнить водой либо на секунду погрузить их в цементное молоко.

Когда речь шла об увлажнении плиток, ни в коем случае не имелось в виду, что плитки следует надолго замачивать в воде: в этом случае поры плиток заполнятся водой, что ухудшит сцепление раствора с плиткой.

С помощью мастерка раствор накладывают на один из углов плитки с тыльной стороны, затем прикладывают плитку к стене и ориентируют ее всей плоскостью по причальному шнуру. После этого легким постукиванием ручкой мастерка аккуратно осаживают плитку (рис. 31). Излишек раствора, появившийся между плиткой и стеной, убирают лопаткой.

Рис. 31. Укладка плитки на стене: 1 – установка плитки; 2 – осаживание плитки.

После того как будут уложены две плитки, нужно вставить между ними два стальных штырька, чтобы стыки были одинаковыми по ширине. То же самое делается после укладки каждой последующей плитки. Стальные штырьки можно вынуть после того, как будут установлены 10 плиток.

В процессе укладки плиток нужно внимательно следить за тем, чтобы раствор полностью покрывал тыльную сторону плитки. В противном случае в дальнейшем плитка будет расширяться неравномерно, если на нее попадет, например, горячая вода. Это приведет к появлению трещин на облицованной поверхности.

Укладку нужно вести по горизонтали, не забывая время от времени передвигать причальный шнур на необходимую высоту и устанавливая штырьки по горизонтальным стыкам.

Как только один ряд плиток будет уложен, необходимо проверить качество облицовки с помощью 2-метровой рейки. Для этого следует приложить ее плоской стороной к поверхности облицованной стены. Если между плоскостью рейки и облицованной поверхностью обнаружится зазор, нужно снять неровно установленную плитку, нанести дополнительное количество раствора, вновь установить снятую плитку на место и аккуратно осадить ее.

  • Читать дальше
  • 1
  • ...
  • 39
  • 40
  • 41
  • 42
  • 43
  • 44
  • 45
  • 46
  • 47
  • 48
  • 49
  • ...

Private-Bookers - русскоязычная библиотека для чтения онлайн. Здесь удобно открывать книги с телефона и ПК, возвращаться к сохраненной странице и держать любимые произведения под рукой. Материалы добавляются пользователями; если считаете, что ваши права нарушены, воспользуйтесь формой обратной связи.

Полезные ссылки

  • Моя полка

Контакты

  • help@private-bookers.win