Домашний мастер
вернуться

Онищенко Владимир

Шрифт:

Труборез.Труборез позволяет перерезать трубы диаметром до 100 мм. Имеется множество видов труборезов, принципиально не отличающихся друг от друга по конструкции. Чтобы отрезать кусок трубы, место разреза на трубе смазываем маслом или периодически поливаем водой. Корпус трубореза надеваем на трубу. Вращаем рукоятку до соприкосновения со стенкой трубы ролика-резака. Докручиваем рукоятку еще на 1/4 оборота так, чтобы ролик врезался в трубу. Весь труборез за рукоятку двигаем вперед-назад, постепенно проходя окружность. После этого еще выгрызаем ролик и повторяем процесс до окончательного разрезания трубы. Снимаем труборез и зачищаем заусенцы, опиливая торец трубы напильником.

Вантузы (прокачки).Подобные приспособления для прочистки ванн, раковин выпускают с диаметром резиновых груш 100, 125, 150 мм. Лучше иметь два вантуза (большой и маленький). У вантуза с грушей диаметром 100 мм обязательно прибейте обойными гвоздиками ту часть груши, в которую вдета рукоятка. Тогда сможете этим вантузом прокачивать и засоры в унитазе. Второй вантуз послужит для прокачки ванн и умывальников.

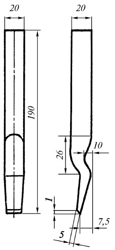
Конопатки, чеканки.Их применяют для укладки уплотнителя в кольцевых промежутках раструбных стыков канализационных труб. Длина стандартной конопатки – 290 мм, ширина лезвия – 25 мм, толщина 3–5 мм (рис. 6). Ширину лезвия можно довести до 1/4 окружности трубы, что убыстрит работу. Конопатки несложно изготовить самому из полосовой стали.

Рис 6Конопатка

Рис. 7.Чеканки

Назначение чеканки то же, что и у конопатки, но длиной она 190 мм, а шириной 20 мм (рис. 7). Чеканка позволяет проникнуть в труднодоступные места, и, кроме того, ею удобнее пользоваться при окончательной стадии процесса уплотнения стыков. Как и конопатку, чеканку можно изготовить самому.

Трубы

Стальные водонапорные трубы

Вода в квартиры, на садовые участки подается по стальным трубам, которые различаются по диаметру условного прохода (ДУ), то есть по номинальной величине внутреннего диаметра, в мм. Для квартирных водопроводных труб он обычно составляет 15 мм (соответственно наружные диаметры таких труб равны приблизительно 21,5 и 26,8 мм). На трубах с ДУ, равным 15 мм, нарезают резьбу 1/2 (такие трубы называют полудюймовыми). На трубах с ДУ, равным 20 мм, – резьба 3/4. Подобные трубы бывают неоцинкованными («черными») и оцинкованными. На черных иногда четко выступает продольный сварной шов.

Сегодня разводка водопроводной сети чаще всего выполняется металлопластиковыми трубами, хорошо зарекомендовавшими себя при разных условиях эксплуатации. Их можно смонтировать открыто, а можно замуровать в стены или стяжку. Надежность труб особенно высока, если они прокладываются единым отрезком (без соединений) от точки водоразбора (коллектора) до точки водопотребления (сантехприбора).

Стабильная работа современных сантехнических приборов и бытовой техники невозможна без регулировки напора воды и обеспечения ее очистки от механических загрязнений. Для этих целей применяют запорную арматуру, фильтры грубой очистки и редукторы давления. Редукторы давления позволяют не только уберечь дорогостоящую сантехнику от гидроударов и повышенного давления (более 5 атм), но и установить одинаковое давление в холодной и горячей квартирных магистралях.

Редукторы располагают после фильтров грубой очистки. Как правило, изначальное давление колеблется в диапазоне от 0,5 до 6–7 атм. Оптимальные для работы сантехники показатели (3–4 атм) выставляются с помощью встроенного манометра. Регулировка осуществляется посредством маховика или винта, имеющегося в корпусе редуктора. Некоторые редукторы устанавливаются в один корпус с фильтром.

В случае, когда давление в сети мало (ниже 0,85 атм), можно порекомендовать монтаж на вводе в квартиру так называемого повышающего насоса. Но учтите, что установка насоса требует обязательного согласования в соответствующих инстанциях.

Правильная работа канализационных линий не требует использования дополнительного оборудования. Однако надо помнить, что трубы, отводящие стоки, необходимо укладывать с уклоном (1,5–4 %) в сторону стояка. При достаточно длинной трубе это может вызвать трудности, ведь незаметно ее не проведешь и под стяжкой не спрячешь.

И наконец, отметим, что для монтажа сантехнических приборов все чаще стали применяться специальные каркасные конструкции с необходимыми фитингами (рис. 8). Эти устройства ускоряют монтаж, гарантируют качество работы систем, но главное – дают возможность размещать приборы не только на стенах или в непосредственной близости от них, но и в любом другом месте. А в результате планировку ванной комнаты и туалета удается сделать необычной.

Секреты правильного выбора

Конечно, при сантехработах желательно использовать продукцию известных фирм-производителей. Непрофессионалу трудно сориентироваться в огромном количестве труб и предметов оборудования, представленных на рынке (особенно если учесть, что предлагается великое множество подделок). Чтобы не купить кота в мешке, необходимо знать хотя бы некоторые параметры нужных вам изделий.

<
  • Читать дальше
  • 1
  • ...
  • 74
  • 75
  • 76
  • 77
  • 78
  • 79
  • 80
  • 81
  • 82
  • 83
  • 84
  • ...

Private-Bookers - русскоязычная библиотека для чтения онлайн. Здесь удобно открывать книги с телефона и ПК, возвращаться к сохраненной странице и держать любимые произведения под рукой. Материалы добавляются пользователями; если считаете, что ваши права нарушены, воспользуйтесь формой обратной связи.

Полезные ссылки

  • Моя полка

Контакты

  • help@private-bookers.win