Алгоритмы разума
вернуться

Амосов Николай Михайлович

Шрифт:

Для цифрового кодирования образов при создании АИ нужно, вероятно, отразить отдельными цифрами принадлежность данной конкретной вещи к основным уровням структурной иерархии обобщения. Для этого необходимо создать систему обозначений. Разумеется, нельзя в модели представить все возможные параметры, по которым можно обобщить, например, стулья, но следует отметить, что они принадлежат к приспособлениям для сидения, к мебели, к предметам (то есть неживым телам). Это удлинит конкретную модель, но упростит операции с ней. Впрочем, не стоит вдаваться в детали, поскольку возможны разные системы перекодирования образов в цифровые модели.

На этом я закончу рассмотрение операций с моделями, хотя далеко не исчерпал их варианты. Важно усвоить главные, потому что они постоянно присутствуют в программах интеллекта, и хотелось бы при дальнейшем изложении не касаться деталей операции, а просто обозначать ее.

Взаимодействие моделей в интеллекте

В предыдущих главах мы разобрали следующие вопросы:

1. Принципы структурного и энергетического построения среды, в которой действуют интеллекты. Два основных типа искусственного интеллекта — сетевой (СИ) и алгоритмический (АИ).

2. Понятие о моделях, их структурное и энергетическое выражение. Хранение моделей — память.

3. Основные программы действий с моделями — в смысле их превращений и обращения с разными видами памяти.

Последние два пункта разделены довольно условно.

Теперь можно перейти к главному: как должны взаимодействовать модели в интеллекте, чтобы в результате выполнялось его назначение — управление объектами внешней среды, собственным «телом» и даже самим собой.

Если возможно бесконечное количество моделей любого сложного объекта, то мыслимо и бесконечное количество интеллектов для управления им. Поскольку трудно сразу объяснить самые высшие проявления интеллекта, придется проследить его эволюцию от простого к наиболее сложному.

Объекты внешней среды воспринимаются рецепторами, которые направляют соответствующий код в моделирующую установку («мозг»). Здесь создаются модели среды, по которым выбираются модели действий, реализуемых через органы действий или эффекторы (у живых существ — мышцы). Кроме того, интеллекту должно быть обязательно придана энергетическая установка («тело»), которая снабжает энергией мозг, рецепторы и особенно — эффекторы, поскольку они должны развивать некоторые усилия для воздействия на объект. В свою очередь «тело» должно получать энергию или вещество извне, причем в результате деятельности интеллекта, направленной на среду. Важнейшим элементом интеллекта являются критерии управления объектом, которые в то же время управляют действиями с моделями. Получается своеобразная цепь: объект управляется через эффекторы, последние — моделями, а сами модели управляются критериями. Какова же природа критериев.

Один из критериев ясен: для того, чтобы интеллект мог выполнять свои функции, он должен получать энергию, следовательно, должен обеспечивать снабжение «тела» извне, и качество этого снабжения является критерием деятельности интеллекта. Итак, «тело» диктует разуму. Это старая истина, вполне объясняющая разум животных. Он выполняет роль компьютера для реализации программ инстинктов, заложенных в генах. Однако даже для животных дело обстоит не так просто: критерии для своей деятельности формирует сам мозг на основе восприятия и переработки сигналов, поступающих от тела. И еще сложнее: некоторые критерии черпаются из внешней среды. Никакого парадокса тут нет — животное само является частью среды, продуктом эволюции, в которой среда всегда присутствует в качестве фактора отбора.

Разум животных давно превзойден разумом человека. Поэтому понятие критериев гораздо сложнее, чем кажется на первый взгляд.

Как говорилось, при познании сложных систем возможно бесконечное множество моделей. Это касается не только моделирования неизменных структур, пределом которого является повторение, копирование объекта, как делается в технике. Изменение объекта во времени — тоже предмет познания, поскольку само управление состоит в изменении его во времени в нужном направлении. Предметом моделирования становятся прошлое, настоящее, будущее и не только сам объект, но и среда, его окружающая. Так же бесконечны пределы моделирования управляющих действий, поскольку их можно создавать в процессе творчества, а не ограничиваться выбором из заданных. Более того, так как критерии заложены в мозге и тоже являются моделями некоторых качеств — объекта, среды, тела, самого мозга, то возникает возможность умножать критерии. Разум может быть относительно самостоятельным фактором развития мира.

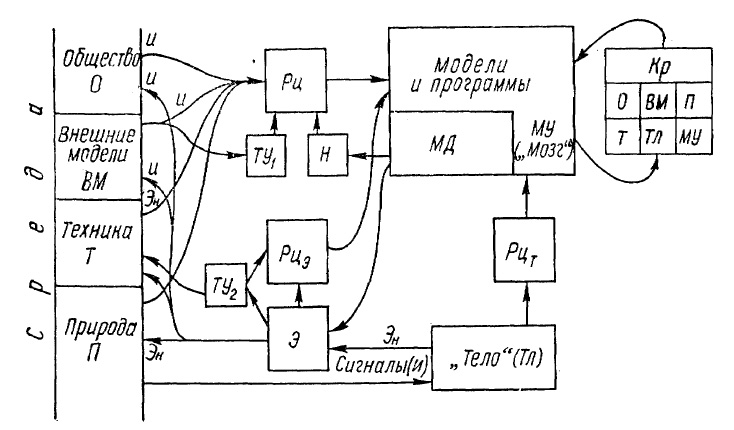
Рис. 21. Расширенная схема интеллекта. . — природа; . — техника; ВМ — внешние модели; О — общество. «Входы» и «выходы»: И — информация, сигналы; Эн — энергия; ТУ — технические устройства; Рц — рецепторы; Рцэ — рецепторы органов воздействия; Н — настройка рецепторов; Рцт—рецепторы «Тела»; МУ — моделирующая установка «Мозг»; МД — модели действий; Э — эффекторы.

На рис. 21 показана схема интеллекта уровня человека и его отношения к внешнему миру, к среде. На схеме она представлена четырьмя составляющими. Это прежде всего природа, понимаемая во всей совокупности ее факторов. Затем — техника, под которой подразумеваются орудия воздействия на природу. Еще выше внешние модели — это наука. Наконец, наверху — общество. Новая схема отличается от предыдущей тем, что рецепторы получают не только энергию, косвенно сигнализирующую о внешней среде, но и прямую информацию в виде сигналов — от общества и внешних моделей. Между средой и рецепторами Рц встроены технические устройства ТУ1. Это всевозможные приборы, предназначенные для усиления внешних воздействий и превращения невоспринимаемых органами чувств видов энергии в воспринимаемые. Точно так же эффекторы Э могут быть вооружены инструментами ТУ2, значительно увеличивающими мощность их воздействий. От эффекторов идут стрелки, показывающие движение не только энергии, но и информации — сигналов, направленных в высшие системы, например в общество. Рецепторы имеют органы настройки Н, а эффекторы — свои собственные рецепторы РцЭ, обеспечивающие сигналы обратной связи. Рецепторы есть и в теле (Рцт). Моделирующая установка МУ («Мозг») содержит модели внешней среды, тела, а также модели собственных программ и моделей действий .Д. Наиболее разнообразны критерии Кр: в них представлены не только значимые качества тела, но и всех отделов внешней среды и, что самое интересное,— некоторые качества работы МУ («мозга»).

В любом интеллекте заложены исходные модели, первичная структура связей и основные критерии. Все это обеспечивает начало деятельности. Дальнейшее саморазвитие интеллекта зависит от количества элементов и их исходных характеристик — главным образом их тренируемости и способности к образованию связей. Такой интеллект, получая извне информацию, становится способным к обучению и воспитанию под действием общества и его моделей. Воспитание понимается как изменение первичных критериев и формирование новых. Высшим проявлением развития интеллекта являются творчество, самопознание и самовоспитание, то есть способность не только создавать новые модели воздействий и претворять их в вещи с помощью техники, но и формировать новые критерии, изменяющие направление деятельности интеллекта в сторону от программ, заложенных при его создании и воспитании со стороны общества.

  • Читать дальше
  • 1
  • ...
  • 10
  • 11
  • 12
  • 13
  • 14
  • 15
  • 16
  • 17
  • 18
  • 19
  • 20
  • ...

Private-Bookers - русскоязычная библиотека для чтения онлайн. Здесь удобно открывать книги с телефона и ПК, возвращаться к сохраненной странице и держать любимые произведения под рукой. Материалы добавляются пользователями; если считаете, что ваши права нарушены, воспользуйтесь формой обратной связи.

Полезные ссылки

  • Моя полка

Контакты

  • help@private-bookers.win